LEMON Manuals: Even more car manuals for everyone
Home >> Mazda >> 2021 >> CX-3 AWD >> Repair and Diagnosis >> External Pages >> Different car >> Section 21 (Air Bag System (Service Information) - Two-Step Deployment Control System) >> Air Bag Module And Pre-TENSIONER Seat Belt Deployment Procedures >> Deployment Procedure for Outside of Vehicle >> Curtain Air Bag Module

Curtain Air Bag Module

WARNING: This page is about a different car, the 2016 Mazda CX-3. However, it is still accessible from the selected car via links, so may be relevant.
  1. Remove the following parts:
    1. A-pillar trim Refer to A-PILLAR TRIM REMOVAL/INSTALLATION .)
    2. Sunvisor Refer to SUNVISOR REMOVAL/INSTALLATION .)
    3. Front map light (dual light type) Refer to FRONT MAP LIGHT REMOVAL/INSTALLATION .)
    4. Assist handle Refer to ASSIST HANDLE REMOVAL/INSTALLATION .)
    5. Front scuff plate Refer to FRONT SCUFF PLATE REMOVAL/INSTALLATION .)
    6. Rear scuff plate Refer to REAR SCUFF PLATE REMOVAL/INSTALLATION .)
    7. B-pillar lower trim Refer to B-PILLAR LOWER TRIM REMOVAL/INSTALLATION .)
    8. Adjust anchor cover Refer to FRONT SEAT BELT REMOVAL/INSTALLATION .)
    9. Upper anchor installation bolt on the seat belt Refer to FRONT SEAT BELT REMOVAL/INSTALLATION .)
    10. B-pillar upper trim Refer to B-PILLAR UPPER TRIM REMOVAL/INSTALLATION .)
    11. Rear seat cushion Refer to REAR SEAT CUSHION REMOVAL/INSTALLATION .)
    12. Lower anchor installation bolt on the rear center seat belt Refer to REAR CENTER SEAT BELT REMOVAL/INSTALLATION .)
    13. Rear seat back Refer to REAR SEAT BACK REMOVAL/INSTALLATION .)
    14. Rear package tray Refer to REAR PACKAGE TRAY REMOVAL/INSTALLATION .)
    15. Trunk board (with trunk board) Refer to TRUNK BOARD REMOVAL/INSTALLATION .)
    16. Trunk covering Refer to TRUNK COVERING REMOVAL/INSTALLATION .)
    17. Bass-box (with Bose ®) Refer to BASS-BOX REMOVAL/INSTALLATION .)
    18. Trunk box Refer to TRUNK BOX REMOVAL/INSTALLATION .)
    19. Trunk end trim Refer to TRUNK END TRIM REMOVAL/INSTALLATION .)
    20. Trunk side trim Refer to TRUNK SIDE TRIM REMOVAL/INSTALLATION .)
    21. C-pillar trim Refer to C-PILLAR TRIM REMOVAL/INSTALLATION .)
    22. Headliner Refer to HEADLINER REMOVAL/INSTALLATION .)
  2. Remove the curtain air bag module. Refer to CURTAIN AIR BAG MODULE REMOVAL/INSTALLATION .)
  3. Cut off the air bag part of the curtain air bag module at the position shown in the figure.
    Fig 1: Identifying Air Bag Cutting Part Of Curtain Air Bag Module
    G10910688Courtesy of MAZDA MOTORS CORP.
    WARNING:
    • Never crush the pipe on the side where it is cut. If it is crushed completely, the interior pressure of the pipe will build up and can cause it to explode during air bag module operation (deployment).
  4. Connect the SST (Adapter harness)  to the curtain air bag module as shown in the figure.
    Fig 2: Connecting SST (Adapter Harness) To Curtain Air Bag Module
    G10910689Courtesy of MAZDA MOTORS CORP.
  5. Secure the curtain air bag module to the tire, by wrapping a wire (cross section 1.25 mm 2  {0.002 in 2  } or more)  through the tire and the bolt installation holes at least 4 times  as shown in the figure.
    Fig 3: Securing Curtain Air Bag Module To Tire
    G10910690Courtesy of MAZDA MOTORS CORP.
    WARNING:
    • If the air bag module is not properly installed to the tire, serious injury may occur when the module is operated (deployed). Always install the air bag module securely.
  6. Stack the tire with the curtain air bag module on top of two tires without wheels. Stack a tire without a wheel on top of the tire with the curtain air bag module, and then stack another tire with a wheel on the very top.
    Fig 4: Stacking Tire With Curtain Air Bag Module On Top Of Tires Without Wheels
    G10910691Courtesy of MAZDA MOTORS CORP.
  7. Secure the tires with wire.
    Fig 5: Securing Tires With Wire
    G10910692Courtesy of MAZDA MOTORS CORP.
  8. Connect the SST (Deployment tool)  to the SST (Adapter harness)  .
    Fig 6: Connecting SST (Deployment Tool) To SST (Adapter Harness)
    G10910693Courtesy of MAZDA MOTORS CORP.
  9. Connect the SST (Deployment tool)  to the battery. Connect the power supply red clip to the positive battery terminal, and the black clip to the negative battery terminal.
  10. Verify that the red lamp on the SST (Deployment tool)  is illuminated.
  11. Verify that all persons are standing at least 6 m {20 ft} away from the curtain air bag module.
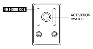
  12. Press the activation switch on the SST (Deployment tool)  to operate (deploy) the curtain air bag module.
    Fig 7: Pressing Activation Switch On SST (Deployment Tool)
    G10910694Courtesy of MAZDA MOTORS CORP.
    WARNING:
    • The air bag module is very hot immediately after it is operated (deployed). You can be burned. Do not touch the air bag module for at least 15 min after deployment.
  13. Disconnect the SST (Deployment tool)  from the SST (Adapter harness)  .