LEMON Manuals: Even more car manuals for everyone
Home >> Mazda >> 2021 >> CX-3 AWD >> Repair and Diagnosis >> External Pages >> Different car >> Section 21 (Air Bag System (Service Information) - Two-Step Deployment Control System) >> Air Bag Module And Pre-TENSIONER Seat Belt Deployment Procedures >> Deployment Procedure for Inside of Vehicle >> Curtain Air Bag Module

Curtain Air Bag Module

WARNING: This page is about a different car, the 2016 Mazda CX-3. However, it is still accessible from the selected car via links, so may be relevant.
  1. Remove the following parts:
    1. A-pillar trim Refer to A-PILLAR TRIM REMOVAL/INSTALLATION .)
    2. Sunvisor Refer to SUNVISOR REMOVAL/INSTALLATION .)
    3. Front map light (dual light type) Refer to FRONT MAP LIGHT REMOVAL/INSTALLATION .)
    4. Assist handle Refer to ASSIST HANDLE REMOVAL/INSTALLATION .)
    5. Front scuff plate Refer to FRONT SCUFF PLATE REMOVAL/INSTALLATION .)
    6. Rear scuff plate Refer to REAR SCUFF PLATE REMOVAL/INSTALLATION .)
    7. B-pillar lower trim Refer to B-PILLAR LOWER TRIM REMOVAL/INSTALLATION .)
    8. Adjust anchor cover Refer to FRONT SEAT BELT REMOVAL/INSTALLATION .)
    9. Upper anchor installation bolt on the seat belt Refer to FRONT SEAT BELT REMOVAL/INSTALLATION .)
    10. B-pillar upper trim Refer to B-PILLAR UPPER TRIM REMOVAL/INSTALLATION .)
    11. Rear seat cushion Refer to REAR SEAT CUSHION REMOVAL/INSTALLATION .)
    12. Lower anchor installation bolt on the rear center seat belt Refer to REAR CENTER SEAT BELT REMOVAL/INSTALLATION .)
    13. Rear seat back Refer to REAR SEAT BACK REMOVAL/INSTALLATION .)
    14. Rear package tray Refer to REAR PACKAGE TRAY REMOVAL/INSTALLATION .)
    15. Trunk board (with trunk board) Refer to TRUNK BOARD REMOVAL/INSTALLATION .)
    16. Trunk covering Refer to TRUNK COVERING REMOVAL/INSTALLATION .)
    17. Bass-box (with Bose ®) Refer to BASS-BOX REMOVAL/INSTALLATION .)
    18. Trunk box Refer to TRUNK BOX REMOVAL/INSTALLATION .)
    19. Trunk end trim Refer to TRUNK END TRIM REMOVAL/INSTALLATION .)
    20. Trunk side trim Refer to TRUNK SIDE TRIM REMOVAL/INSTALLATION .)
    21. C-pillar trim Refer to C-PILLAR TRIM REMOVAL/INSTALLATION .)
  2. Peel back the headliner.
  3. Using a flathead screwdriver, lift the locking device carefully, however do not remove it.
    Fig 1: Lifting Locking Device Using Flathead Screwdriver
    G10910659Courtesy of MAZDA MOTORS CORP.
  4. Disconnect the curtain air bag module connector.
  5. Connect the SST (Adapter harness)  to the curtain air bag module as shown in the figure.
  6. Connect the SST (Deployment tool)  to the SST (Adapter harness)  .
    Fig 2: Connecting SST (Deployment Tool) To SST (Adapter Harness)
    G10910660Courtesy of MAZDA MOTORS CORP.
  7. Connect the SST (Deployment tool)  to the battery. Connect the power supply red clip to the positive battery terminal, and the black clip to the negative battery terminal.
  8. Verify that the red lamp on the SST (Deployment tool)  is illuminated.
  9. Verify that all persons are standing at least 6 m {20 ft} away from the vehicle.
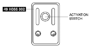
  10. Press the activation switch on the SST (Deployment tool)  to operate (deploy) the curtain air bag module.
    Fig 3: Pressing Activation Switch On SST (Deployment Tool)
    G10910661Courtesy of MAZDA MOTORS CORP.
    WARNING:
    • The air bag module is very hot immediately after it is operated (deployed). You can be burned. Do not touch the air bag module for at least 15 min after deployment.
  11. Disconnect the SST (Deployment tool)  from the SST (Adapter harness)  .