LEMON Manuals: Even more car manuals for everyone
Home >> Suzuki >> 2012 >> Equator Base >> Repair and Diagnosis >> External Pages >> Different variant/trim >> Section 3 (Transfer (4WD) System) >> Repair Instructions >> Transfer Assembly: Disassembly and Assembly >> Assembly

Transfer Assembly: Disassembly and Assembly: Assembly

WARNING: This page is about a different variant/trim than selected.
  1. Install the breather tube.
    Fig 1: Installing Breather Tube
    G06444922Courtesy of SUZUKI OF AMERICA CORP.
    CAUTION: Install breather tube in the direction shown.
  2. Install the baffle plate to the front case. Tighten the bolt to the specified torque. Refer to [TRANSFER ASSEMBLY: DISASSEMBLY AND ASSEMBLY ].
    Fig 2: Identifying Baffle Plate
    G06444923Courtesy of SUZUKI OF AMERICA CORP.
    CAUTION: Install baffle plate by pushing it in the direction shown while tightening the bolt.
  3. Install the input bearing to the front case using Tool.
    Fig 3: Installing Input Bearing To Front Case
    G06444924Courtesy of SUZUKI OF AMERICA CORP.

    Tool number: ST30720000 (J-25405) 

  4. Install the new snap ring to the front case.
    Fig 4: Identifying Snap Ring
    G06444925Courtesy of SUZUKI OF AMERICA CORP.
    CAUTION: Do not reuse snap ring.
  5. Install the internal gear with the groove facing up into the front case.
    Fig 5: Installing Internal Gear With Groove Facing
    G06444926Courtesy of SUZUKI OF AMERICA CORP.
  6. Install the new snap ring to the front case.
    Fig 6: Identifying Snap Ring And Internal Gear
    G06444927Courtesy of SUZUKI OF AMERICA CORP.
    CAUTION: Do not reuse snap ring.
  7. Install the planetary carrier assembly and sun gear assembly to the front case using Tool.
    Fig 7: Installing Planetary Carrier Assembly And Sun Gear Assembly
    G06444928Courtesy of SUZUKI OF AMERICA CORP.

    Tool number: KV38100200 (-) 

  8. Install the new snap ring to the sun gear.
    Fig 8: Identifying Snap Ring
    G06444929Courtesy of SUZUKI OF AMERICA CORP.
    CAUTION:
    • Do not reuse snap ring.
    • Do not damage sun gear.
  9. Set the L-H sleeve together with the L-H shift fork assembly onto the planetary carrier assembly.
    Fig 9: Identifying L-H Sleeve And L-H Shift Fork Assembly
    G06444930Courtesy of SUZUKI OF AMERICA CORP.
  10. Install the control shift rod assembly to the front case.
    Fig 10: Installing Control Shift Rod Assembly
    G06444931Courtesy of SUZUKI OF AMERICA CORP.
    CAUTION: Set pin of L-H shift fork assembly into the groove of drum cam.
  11. Turn the control shift rod assembly fully counterclockwise.
  12. Install the L-H shift rod assembly through the L-H shift fork assembly opening to the front case.
    Fig 11: Identifying L-H Shift Rod Assembly And Drum Cam
    G06444932Courtesy of SUZUKI OF AMERICA CORP.
    CAUTION: Set pin of L-H shift rod assembly into the groove of drum cam.
  13. Install the mainshaft to the sun gear assembly.
  14. Install the drive chain to the front drive shaft and sprocket.
    Fig 12: Identifying Drive Chain Identification Mark
    G06444933Courtesy of SUZUKI OF AMERICA CORP.
    CAUTION: Install with the identification mark of drive chain on the side of the rear bearing of front drive shaft.
  15. Install the drive chain together with the front drive shaft and sprocket to the front case.
    Fig 13: Installing Drive Chain With Front Drive Shaft And Sprocket
    G06444934Courtesy of SUZUKI OF AMERICA CORP.
  16. Install the 2-4 sleeve and 2-4 shift fork assembly to the mainshaft.
    Fig 14: Identifying 2-4 Sleeve And 2-4 Shift Fork Assembly
    G06444935Courtesy of SUZUKI OF AMERICA CORP.
    CAUTION:
    • Install with proper orientation of 2-4 sleeve.
    • Install 2-4 shift fork with engaging the grooves of 2-4 shift fork in the retaining pin of 2-4 shift bracket.
  17. Install the new snap ring to the L-H shift rod assembly using suitable tool.
    Fig 15: Installing Snap Ring To L-H Shift Rod Assembly
    G06444936Courtesy of SUZUKI OF AMERICA CORP.
    CAUTION: Do not reuse snap ring.
  18. Install the clutch gear to the mainshaft.
  19. Install the new snap ring to the mainshaft using suitable tool.
    Fig 16: Installing Snap Ring To Mainshaft Using Suitable Tool
    G06444937Courtesy of SUZUKI OF AMERICA CORP.
    CAUTION: Do not reuse snap ring.
  20. Install the oil pump assembly to the mainshaft.
  21. Install the new snap ring to the mainshaft using suitable tool.
    Fig 17: Installing Snap Ring
    G06444938Courtesy of SUZUKI OF AMERICA CORP.
    CAUTION: Do not reuse snap ring.
  22. Install the retainer to the mainshaft.
    Fig 18: Installing Retainer To Mainshaft
    G06444939Courtesy of SUZUKI OF AMERICA CORP.
    CAUTION: Set the projection of oil pump assembly to the identification hole, and then align locating hole of retainer to the L-H shift rod assembly.
  23. Install the mainshaft rear bearing to the mainshaft using Tool.
    Fig 19: Installing Mainshaft Rear Bearing
    G06444940Courtesy of SUZUKI OF AMERICA CORP.

    Tool number: KV32102700 (-) 

    CAUTION: Do not push too hard in order to avoid snap rings becoming dislodged from mainshaft.
  24. Install the new snap ring to the mainshaft using suitable tool.
    Fig 20: Installing Snap Ring To Mainshaft
    G06444941Courtesy of SUZUKI OF AMERICA CORP.
    CAUTION: Do not reuse snap ring.
  25. Install the spacer to the control shift rod.
  26. Apply liquid gasket to the mating surface of the front case.
    Fig 21: Applying Liquid Gasket To Mating Surface Of Front Case
    G06444942Courtesy of SUZUKI OF AMERICA CORP.
    • Use Genuine Anaerobic Liquid Gasket or equivalent.  Refer to [RECOMMENDED CHEMICAL PRODUCTS AND SEALANTS ].
      CAUTION: Remove old sealant adhering to mating surfaces. Also remove any moisture, oil, or foreign material adhering to application and mating surfaces.
  27. Install the rear case to the front case.
  28. Tighten the bolts to the specified torque. Refer to [TRANSFER ASSEMBLY: DISASSEMBLY AND ASSEMBLY ].
    Fig 22: Locating Rear Case Bolts
    G06444943Courtesy of SUZUKI OF AMERICA CORP.
    CAUTION: Be sure to install the harness brackets and air breather hose clamp.
  29. Install the retainer bolts with new gaskets. Tighten the bolts to the specified torque. Refer to [Transfer Assembly: Exploded View ].
    Fig 23: Locating Retainer Bolts
    G06444944Courtesy of SUZUKI OF AMERICA CORP.
    CAUTION:
    • Do not reuse gasket.
    • Tighten them to the specified torque again.
  30. Apply petroleum jelly to the circumference of the new oil seal, and install it to the front case using Tools.
    Fig 24: Installing Front Case Using Tools
    G06444945Courtesy of SUZUKI OF AMERICA CORP.

    Tool number A: ST30720000 (J-25405) 

    B: KV40104830 (-) 

    Dimension A: 4.0 - 4.6 mm (0.157 - 0.181 in) 

    CAUTION:
    • Do not reuse oil seal.
    • Apply petroleum jelly to oil seal.
  31. Install the new rear oil seal until it is flush with the end face of the rear case using Tool.
    Fig 25: Installing Rear Oil Seal
    G06444946Courtesy of SUZUKI OF AMERICA CORP.

    Tool number: KV38100500 (-) 

    CAUTION:
    • Do not reuse oil seal.
    • Apply petroleum jelly to oil seal.
  32. Install the oil cover until it reaches the end face of the new dust cover.
    CAUTION: Position the oil cover with the notch at bottom position.
  33. Apply petroleum jelly to the circumference of the new dust cover. Position the dust cover as shown.
    Fig 26: Identifying Dust Cover And Identification Mark
    G00512528Courtesy of SUZUKI OF AMERICA CORP.
    CAUTION:
    • Do not reuse dust cover.
    • Position the identification mark at the position shown.
    • 1: Dust cover
    • A: Protrusions
    • 2: Rear case assembly
  34. Install the new dust cover to the rear case using Tool.
    Fig 27: Installing Dust Cover To Rear Case Using Tool
    G06444948Courtesy of SUZUKI OF AMERICA CORP.

    Tool number: KV40105310 (-) 

    CAUTION:
    • Do not reuse dust cover.
    • Apply petroleum jelly to dust cover.
  35. Install check ball and check spring to rear case (M/T models only).
  36. Apply sealant to thread of check plug, then install it to rear case and tighten to the specified torque (M/T models only). Refer to [Transfer Assembly: Exploded View ].
    Fig 28: Applying Sealant To Thread Of Check Plug
    G00512534Courtesy of SUZUKI OF AMERICA CORP.
    CAUTION: Remove old sealant and oil adhering to threads.
  37. Apply sealant to the threads of the wait detection switch (gray). Then install it to the rear case and tighten to the specified torque. Refer to [Transfer Assembly: Exploded View ].
    Fig 29: Identifying Wait Detection Switch
    G06444949Courtesy of SUZUKI OF AMERICA CORP.
  38. Apply sealant to the threads of the 4LO switch (gray with green paint) and ATP switch (black). Then install them to the front case and tighten to the specified torque. Refer to [Transfer Assembly: Exploded View ].
    Fig 30: Identifying 4LO Switch And ATP Switch
    G06444950Courtesy of SUZUKI OF AMERICA CORP.
  39. Install the new front oil seal until it is flush with the end face of the front case using Tool.
    Fig 31: Installing Front Oil Seal
    G06444951Courtesy of SUZUKI OF AMERICA CORP.

    Tool number: KV38100500 (-) 

    CAUTION:
    • Do not reuse oil seal.
    • Apply petroleum jelly to oil seal.
  40. Align the matching mark on the front drive shaft with the mark on the companion flange, then install the companion flange.
    Fig 32: Identifying Matching Mark On Front Drive Shaft And Companion Flange
    G06444952Courtesy of SUZUKI OF AMERICA CORP.
  41. Install the new companion flange self-lock nut. Tighten to the specified torque using Tool. Refer to [TRANSFER ASSEMBLY: DISASSEMBLY AND ASSEMBLY ].
    Fig 33: Tightening Companion Flange Self-Lock Nut
    G06444953Courtesy of SUZUKI OF AMERICA CORP.

    Tool number: KV40104000 (-) 

    CAUTION: Do not reuse self-lock nut.
  42. Install the new O-ring to the transfer control device.
    Fig 34: Identifying O-Ring And Transfer Control Device
    G06444954Courtesy of SUZUKI OF AMERICA CORP.
    CAUTION:
    • Do not reuse O-ring.
    • Apply petroleum jelly to O-ring.
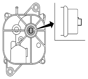
  43. Install the transfer control device to the rear case.
    Fig 35: Identifying Transfer Control Device
    G06444955Courtesy of SUZUKI OF AMERICA CORP.
    1. Turn the control shift rod fully counterclockwise using a flat-bladed screwdriver, and then put a mark on the control shift rod.
    2. Align the transfer control device shaft cutout with the mark on the control shift rod, and install it.
      Fig 36: Identifying Transfer Control Device Shaft
      G06444956Courtesy of SUZUKI OF AMERICA CORP.
      NOTE: Turn the transfer control device when the transfer control device connection does not match.
    3. Tighten the bolts to the specified torque. Refer to [Transfer Assembly: Exploded View ].
      Fig 37: Locating Transfer Control Device Bolts
      G06444957Courtesy of SUZUKI OF AMERICA CORP.
  44. Install the drain plug and filler plug with new gaskets to the rear case. Tighten to the specified torque. Refer to [Transfer Assembly: Exploded View ].
    CAUTION: Do not reuse gaskets.