LEMON Manuals: Even more car manuals for everyone
Home >> Volvo >> 1998 >> S70 Base, Standard >> Repair and Diagnosis >> Engine Performance >> Remove, Overhaul & Install >> Engine Controls - Remove/Install/Overhaul >> Fuel System >> Fuel Tank >> Installation (C/S/V70)

Installation (C/S/V70)

CAUTION: Use NEW nuts when replacing fuel tank. Use old nuts when servicing fuel tank. If nuts are not used as described, fuel leakage may occur.
NOTE: Replace the following when replacing fuel tank:
  • Level Sensor Nut (White)
  • Level Sensor Nut Seal
  • Fuel Pump Nut (Black)
  • Fuel Pump Nut Seal
  • Fuel Filler Pipe Seal
  1. Lubricate inside and upper surface of fuel pump and level sensor seal with petroleum jelly or equivalent. Install seals. See Figure.
  2. CAUTION: Engine may stall if fuel tank is installed incorrectly.
  3. Install fuel pump and level sensor. Ensure fuel pump and level sensor are seated correctly. See Fig 1. Install heater connector on right side. Install level sensor with cable on left side (arrow).
  4. Install fuel pump nuts. See Fig 2. Ensure level transmitter wiring is positioned as in illustration. Tighten nuts to specification. See TORQUE SPECIFICATIONS .
  5. NOTE: Check valve should not rattle inside tank if positioned correctly.
  6. Install rubber gasket on fuel tank terminal. Oil inside of seal. If necessary, lower end of filler pole. Ensure check valve is positioned correctly with flap in position against pipe. Install filler pipe flange and bolts. Tighten bolts to specification. See TORQUE SPECIFICATIONS .
  7. NOTE: Delivery pipe is marked with yellow tape.
  8. Place fuel tank on jack. Using same fixture and lifting table during removal, lift tank slightly. Using petroleum jelly or equivalent, lightly lubricate hose connectors. Reconnect connectors to fuel pump. Ensure pipes and fuel pump colors are properly matched up. Take care not to damage O-rings, and reconnect connectors straight, by pressing down to flat source of pump. Push tank forward as far as possible. Center tank so that level sensor nut (white) does not contact edge of opening in tank. Position cables in fuel tank clip (top side), and lock clip.
  9. Raise fuel tank until front holder can be installed on bracket. Position hoses and wiring in holder. Press holder until it locks securely on bracket. Ensure cabling is not trapped when fuel tank is installed. Raise fuel tank and secure to bodywork. Tighten to specification. See TORQUE SPECIFICATIONS .
  10. Install EVAP canister shut-off valve hose in fuel tank clamp. Using two tie straps, position hose with air cleaner and guard on fuel filler pipe. Install terminal/inlet on EVAP canister, and ensure it clips into place.
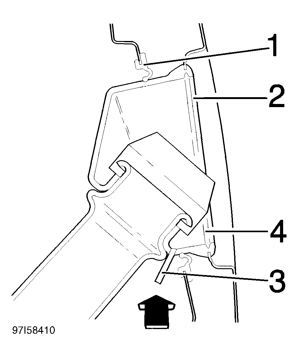
  11. CAUTION: Install drain hose (3) last. See Fig 3. Water or fuel may enter cargo compartment if installed prior.
  12. Ensure inner rubber seal is correctly positioned, and drain pipe is inside inner seal. Ensure circlip (1) is in correct position. See Fig 3. Using petroleum jelly or equivalent, lubricate rubber cover sealing surface (2). Install rubber cover. Install circlip (4). Install drain pipe (3) last, or water or fuel will enter cargo compartment.
  13. Ensure fuel tank is center on holes. Connect all connectors, including fuel filler pipe ground lead on level sensor cover. Install rubber bracket around wiring. Install panels, covers and carpet.
Fig 1: Installing Fuel Pump & Level Sensor
G97D58407
Fig 2: Installing Fuel Pump Nuts & Positioning Level Transmitter Wiring
G97E58408
Fig 3: Installing Fuel Filler Pipe Rubber Cover
G97I58410