LEMON Manuals: Even more car manuals for everyone
Home >> Toyota >> 2004 >> Matrix Base, 4WD >> Repair and Diagnosis >> Body & Frame >> Windows >> Power Window Control System >> Windshield Glass >> Replacement

Windshield Glass: Replacement

NOTE:

Installation is in the reverse order of the removal.

  1. REMOVE FR WIPER ARM RH (See  REPLACEMENT  ) 
  2. REMOVE FR WIPER ARM LH (See  REPLACEMENT  ) 
  3. REMOVE HOOD TO COWL TOP SEAL (See  REPLACEMENT  ) 
  4. REMOVE COWL TOP VENTILATOR LOUVER LH (See  REPLACEMENT  ) 
  5. REMOVE COWL TOP VENTILATOR LOUVER RH (See  REPLACEMENT  ) 
  6. REMOVE FRONT DOOR WEATHERSTRIP RH (See  REPLACEMENT  ) 
  7. REMOVE FRONT DOOR WEATHERSTRIP LH (See  REPLACEMENT  ) 
  8. REMOVE FRONT PILLAR GARNISH RH (See  REPLACEMENT  ) 
  9. REMOVE FRONT PILLAR GARNISH LH (See  REPLACEMENT  ) 
  10. REMOVE INNER REAR VIEW MIRROR ASSY (See  REPLACEMENT  ) 
  11. REMOVE RH VISOR ASSY (See  REPLACEMENT  ) 
  12. REMOVE LH VISOR ASSY (See  REPLACEMENT  ) 
  13. REMOVE GLOVE BOX LAMP ASSY (W/ SLIDING ROOF) (See  REPLACEMENT  ) 
  14. REMOVE ASSIST GRIP SUB-ASSY (See  REPLACEMENT  ) 
  15. REMOVE VISOR HOLDER (See  REPLACEMENT  ) 
  16. REMOVE ROOF HEADLINING ASSY (See  REPLACEMENT  ) 
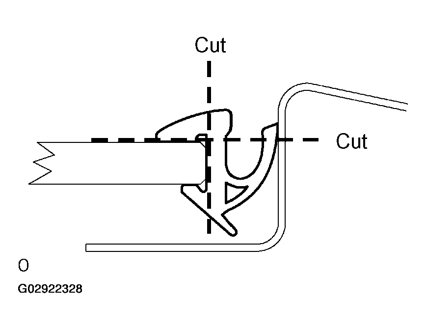
  17. REMOVE WINDSHIELD MOULDING OUTSIDE 
    1. Using a knife, cut off the moulding as shown in Fig 1 .
      NOTE: Do not damage the body with the knife.
    2. Remove the remaining moulding.
      NOTE:

      When removing, make a cut partly, pull and remove it by hand.

      Fig 1: Locating Windshield Moulding Cut Off Marks
      G02922328Courtesy of © TOYOTA, LICENSE AGREEMENT TMS1002
  18. REMOVE WINDSHIELD GLASS 
    1. Push a piano wire through between the body and glass from the interior.
      NOTE:

      Apply protective tape to the outer surface to keep the surface from being scratched.

      Fig 2: Locating Windshield Glass Stopper
      G02922329Courtesy of © TOYOTA, LICENSE AGREEMENT TMS1002
    2. Tie both wire ends to wooden blocks or similar objects.
      NOTE:
      • When separating the glass, take care not to damage the paint and interior/exterior ornaments.
      • To prevent the piano wire to be cut, do not cross it.
    3. Cut the adhesive by pulling the piano wire around it.
    4. Using a suction rubber, remove the glass.
      NOTE: Leave as much adhesive on the body as possible when cutting off the glass.
      Fig 3: Locating Stopper And Piano Wire
      G02922330Courtesy of © TOYOTA, LICENSE AGREEMENT TMS1002
  19. CLEAN WINDSHIELD GLASS 
    1. Using a scraper, remove the damaged stoppers, dam and adhesive sticking to the glass.
      Fig 4: Removing Damage Stopper, Dam And Adhesive By Scraper
      G02922331Courtesy of © TOYOTA, LICENSE AGREEMENT TMS1002
    2. Clean the outer circumference of the glass with white gasoline.
      NOTE:
      • Do not touch the glass after cleaning it.
      • Be careful not to damage the body.
  20. INSTALL WINDSHIELD GLASS STOPPER NO.1 
    1. Install 2 new windshield glass stoppers No.1 to the body as shown in Fig 5 .
      Fig 5: Installing Windshield Glass Stopper No.1
      G02922332Courtesy of © TOYOTA, LICENSE AGREEMENT TMS1002
  21. INSTALL WINDSHIELD GLASS STOPPER NO.2 
    1. Coat the installation part of the stopper with Primer G.
      NOTE:
      • Dry the primer coating for 3 minutes or more.
      • Do not apply too much primer.
    2. Install 2 new windshield glass stoppers No.2 onto the glass as shown in Fig 6 .

      A: 40.0 mm (1.575 in.) 

      B: 7.7 mm (0.303 in.) 

      Fig 6: Installing 2 New Windshield Glass Stoppers
      G02922333Courtesy of © TOYOTA, LICENSE AGREEMENT TMS1002
  22. INSTALL FRONT PILLAR OUTER DAM 
    1. Coat the installation part of the front pillar outer dam with Primer G.
      NOTE:
      • Dry the primer coating for 3 minutes or more.
      • Do not apply too much primer.
    2. Install 2 new front pillar outer dams with double-stick tape as shown in Fig 7 .
      NOTE: Do not touch the glass face after cleaning it.

      A: 7 mm (0.28 in.) 

      B: 22.5 mm (0.886 in.) 

      C: 45 mm (1.77 in.) 

      D: 5 mm (0.20 in.) 

      Fig 7: Installing Front Pillar Outer Dam
      G02922334Courtesy of © TOYOTA, LICENSE AGREEMENT TMS1002
  23. INSTALL WINDSHIELD GLASS 
    1. Clean and shape the contact surface of the vehicle's body.
      1. Using a knife, cut away any rough areas on the body.
        NOTE:

        Leave as much adhesive on the body as possible.

      2. Clean the cut surface of the adhesive with a piece of shop rag saturated in cleaner.
      Fig 8: Smoothing Adhesive to Rough Area
      G02922335Courtesy of © TOYOTA, LICENSE AGREEMENT TMS1002
    2. Position the glass.
      1. Using a suction rubber, place the glass in the correct position.
      2. Check that all the contacting parts of the glass rim are perfectly even.
      3. Place reference marks between the glass and body.
        NOTE: Check that the stoppers are attached to the body correctly.
        NOTE:

        When reusing the glass, check and correct the reference mark's positions.

      4. Remove the glass.
    3. Coat the contact surface of the body panel with Primer M.
      1. Using a brush, coat the exposed part of the contact surface on the vehicle side with Primer M.
        NOTE:
        • Dry the primer coating for 3 minutes or more.
        • Do not coat the adhesive with Primer M.
        • Do not apply too much Primer.
    4. Coat the contact surface of the glass with Primer G.
      1. Using a brush or sponge, coat the edge of the glass and the contact surface with Primer G.
        NOTE:
        • Dry the primer coating for 3 minutes or more.
        • Do not apply too much primer.
    5. Apply adhesive.
      1. Cut off the tip of the cartridge nozzle as shown in Fig 9 .

        Part No. 08850-00801 or equivalent 

        NOTE:

        After cutting off the tip, use all adhesive within the time described in the table below.

        Temperature Time

        Temperature Tackfree Time
        35°C (95°F) 15 minutes
        20°C (68°F) 100 minutes
        5°C (41°F) 8 hours
      2. Load the sealer gun with the cartridge.
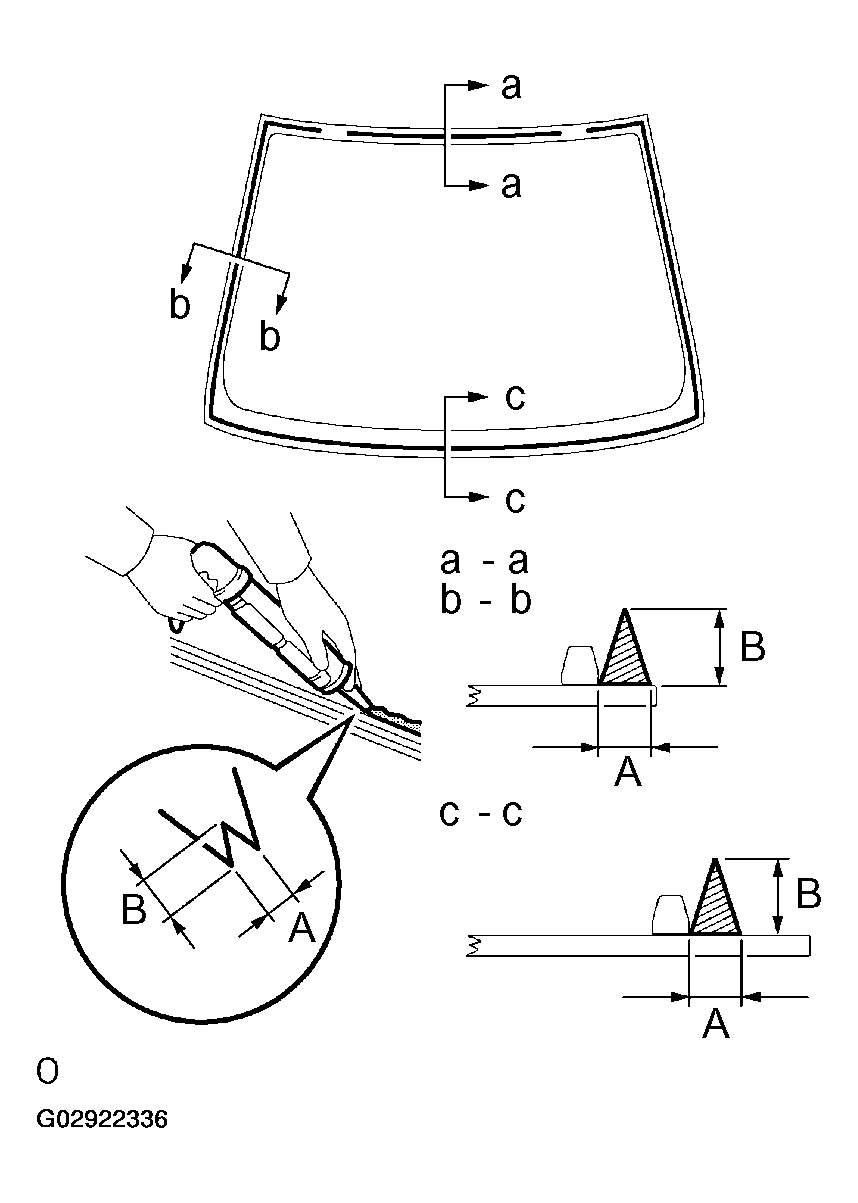
      3. Coat the glass with adhesive, as shown in Fig 9 .

        A: 8.0 mm (0.315 in.) 

        B: 12.5 mm (0.492 in.) 

        Fig 9: Coating Glass With Adhesive
        G02922336Courtesy of © TOYOTA, LICENSE AGREEMENT TMS1002
    6. Install the glass.
      1. Using a suction rubber, position the glass so that the reference marks are aligned, and press it in gently along the rim.
        NOTE:
        • Dry the primer coating for 3 minutes or more.
        • Check that the stoppers are attached to the body correctly.
        • Check the clearance between the body and glass.
      2. Lightly press the glass front surface for close contact.
      3. Using a scraper, remove any excess or protruding adhesive.
        NOTE:

        Apply adhesive on the glass rim.

  24. INSTALL WINDSHIELD MOULDING OUTSIDE 
    1. Install a new windshield moulding to the windshield glass before the adhesive has hardened.
    2. Hold the windshield glass in place securely with protective tape or equivalent until the adhesive has completely hardened.
    3. Using a scraper, remove any excess or protruding adhesive before the adhesive has hardened.
      NOTE: Take care not to drive the vehicle during the time described in the table below.
      Temperature Time

      Temperature Tackfree Time
      35°C (95°F) 1.5 hours
      20°C (68°F) 5 hours
      5°C (41°F) 24 hours
  25. INSPECT FOR LEAK AND REPAIR 
    1. Conduct a leak test after the adhesive has completely hardened.
    2. Seal any leak with sealant.