LEMON Manuals: Even more car manuals for everyone
Home >> Suzuki >> 2012 >> Equator Base >> Repair and Diagnosis >> External Pages >> Different variant/trim >> Section 3 (Transfer (4WD) System) >> Repair Instructions >> Transfer Control Device: Removal and Installation >> Installation

Transfer Control Device: Removal and Installation: Installation

WARNING: This page is about a different variant/trim than selected.
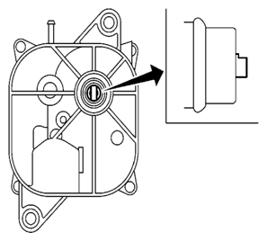
  1. Install the new O-ring to the transfer control device.
    Fig 1: Identifying O-Ring And Transfer Control Device
    G06444850Courtesy of SUZUKI OF AMERICA CORP.
    CAUTION:
    • Do not reuse O-ring.
    • Apply petroleum jelly to O-ring.
  2. Install the transfer control device.
    Fig 2: Identifying Transfer Control Device Mark
    G06444851Courtesy of SUZUKI OF AMERICA CORP.
    1. Turn the control shift rod fully counterclockwise using a flat-bladed screwdriver, and then put a mark on the control shift rod.
    2. Align the transfer control device shaft cutout with the mark on the control shift rod, and install.
      Fig 3: Identifying Transfer Control Device Shaft
      G06444852Courtesy of SUZUKI OF AMERICA CORP.
      NOTE: Turn the transfer control device when the transfer control device connection does not match.
    3. Tighten the bolts to the specified torque. Refer to [TRANSFER ASSEMBLY: DISASSEMBLY AND ASSEMBLY ].
      Fig 4: Locating Transfer Control Device Bolts
      G06444853Courtesy of SUZUKI OF AMERICA CORP.
  3. Install the breather hose to the transfer control device.
  4. Connect the transfer control device connector.
  5. After the installation, check the 4WD shift indicator pattern. If NG, adjust the position between the transfer assembly and transfer control unit. Refer to [PRECAUTION FOR TRANSFER ASSEMBLY AND TRANSFER CONTROL UNIT REPLACEMENT ].