LEMON Manuals: Even more car manuals for everyone
Home >> Suzuki >> 2007 >> Aerio Base, AWD >> Repair and Diagnosis >> Steering >> Steering Column >> Steering Wheel And Column >> Repair Instruction >> Contact Coil and Combination Switch Assembly Removal and Installation >> Installation

Contact Coil and Combination Switch Assembly Removal and Installation: Installation

Reference: CONTACT COIL AND COMBINATION SWITCH ASSEMBLY INSPECTION 

Reference: CENTERING CONTACT COIL 

  1. Check to make sure that vehicle's front tires are set at straight-ahead position and then ignition switch is at "LOCK" position.
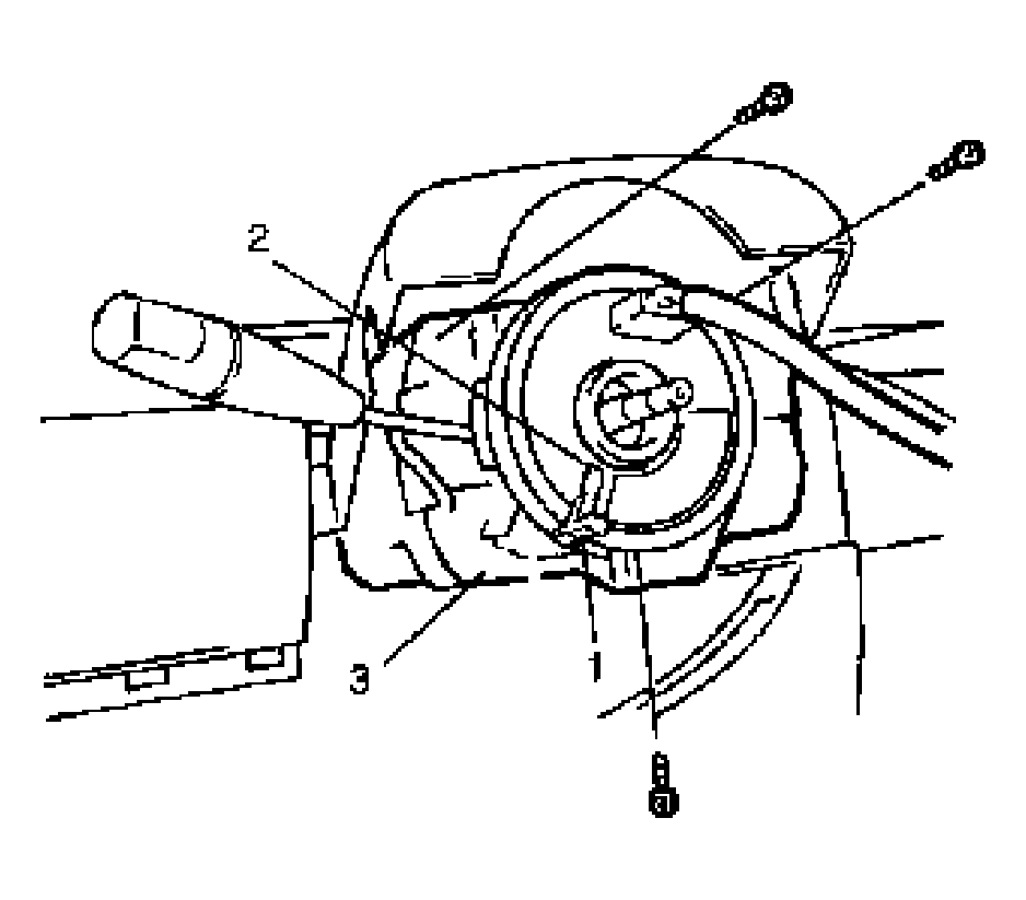
  2. Install contact coil and combination switch assembly (3) and then connect all connectors disconnected in Removal.
    NOTE: New contact coil and combination switch assembly is supplied with contact coil set and held at its center position with a lock pin (1) and seal (2). Remove this lock pin after installing contact coil and combination switch assembly to steering column.
    Fig 1: Installing Contact Coil And Combination Switch Assembly
    G04590688Courtesy of SUZUKI OF AMERICA CORP.
  3. Install steering column upper cover (2) and lower cover (3), and then tighten steering column cover screws (1).
    CAUTION: When installing lower cover (3) and upper cover (2), be careful so that contact coil and combination switch lead wire is not caught between covers.
    Fig 2: Installing Steering Column Upper Cover And Lower Cover
    G04590689Courtesy of SUZUKI OF AMERICA CORP.
  4. Install steering column hole cover (1).
  5. Install steering wheel to steering column. Refer to STEERING WHEEL REMOVAL AND INSTALLATION .
    Fig 3: Installing Steering Column Hole Cover
    G04590690Courtesy of SUZUKI OF AMERICA CORP.