LEMON Manuals: Even more car manuals for everyone
Home >> Subaru >> 2024 >> Impreza Base >> Repair and Diagnosis >> Body & Frame >> Door Locks >> Security And Locks - Keyless Access (W/Push Button Start) (Diagnostics) >> Diagnostic Procedure with Diagnostic Trouble Code (DTC) >> DTC B2786: Steering Lock Control Module Communication

DTC B2786: Steering Lock Control Module Communication

DTC detecting condition: 

When LIN transmission frame is received from steering lock control module once, but cannot be received for 10 seconds in a row during LIN bus Wake-up.

Trouble symptom: 

Failure detection pattern: 

Warning light/indicator light: 

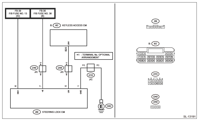
Wiring diagram: 

Keyless access with push button start system Ref. to WIRING SYSTEM>KEYLESS ACCESS WITH PUSH BUTTON START SYSTEM>WIRING DIAGRAM .

G16771448Courtesy of SUBARU OF AMERICA, INC.
CAUTION:
  1. CHECK DTC  .
    1. Turn the ignition switch to ON.
    2. Read the DTC of [Keyless Access with Push Button Start (Collation)] using the Subaru Select Monitor. Ref. to KEYLESS ACCESS WITH PUSH BUTTON START (DIAGNOSTICS)>DIAGNOSTIC TROUBLE CODE (DTC) .

    Is any DTC other than DTC B2786 displayed? (Current code)

    Yes  : Perform the diagnosis of DTCs other than B2786. Ref. to KEYLESS ACCESS WITH PUSH BUTTON START (DIAGNOSTICS)>DIAGNOSTIC TROUBLE CODE (DTC)>LIST .

    No  : GO TO  2.

  2. CHECK HARNESS (OPEN CIRCUIT)  .
    1. Turn the ignition switch to OFF.
    2. Disconnect the connector from the keyless access control module.
    3. Disconnect the connector from the steering lock control module.
    4. Using a tester, measure the resistance between the keyless access control module connector and steering lock control module connector.

      Connector & terminal 

      (i92) No. 20 - (i89) No. 5:

    Is the resistance less than 1 Ω?

    Yes  : GO TO  3.

    No  : Repair or replace the open circuit of harness.

  3. CHECK HARNESS (GROUND SHORT CIRCUIT)  .

    Using a tester, measure the resistance between the keyless access control module and chassis ground.

    Connector & terminal 

    (i92) No. 20 - Chassis ground:

    Is the resistance 10 KΩ or more?

    Yes  : GO TO  4.

    No  : Repair or replace the short circuit of the harness.

  4. CHECK HARNESS (OPEN CIRCUIT)  .

    Using a tester, measure the resistance between the steering lock control module connector and chassis ground.

    Connector & terminal 

    (i89) No. 1 - Chassis ground:

    Is the resistance less than 1 Ω?

    Yes  : GO TO  5.

    No  : Repair or replace the open circuit of harness.

  5. CHECK HARNESS  .
    1. Turn the ignition switch to ON.
    2. Using a tester, measure the voltage between the steering lock control module connector and chassis ground.

      Connector & terminal 

      (i89) No. 6 (+) - Chassis ground (-):

      (i89) No. 7 (+) - Chassis ground (-):

    Is the voltage 9.5 V or more?

    Yes  : GO TO  6.

    No  : Repair or replace the faulty portion of the power supply circuit.

  6. CHECK STEERING LOCK CONTROL MODULE  .
    1. Using the Subaru Select Monitor, perform the clear memory of [Keyless Access with Push Button Start (Collation)]. Ref. to COMMON (DIAGNOSTICS)>CLEAR MEMORY .
    2. Read the DTC of [Keyless Access with Push Button Start (Collation)] using the Subaru Select Monitor. Ref. to KEYLESS ACCESS WITH PUSH BUTTON START (DIAGNOSTICS)>DIAGNOSTIC TROUBLE CODE (DTC) .

    Is DTC B2785 displayed?

    Yes  : Replace the keyless access control module. Ref. to SECURITY AND LOCKS>KEYLESS ACCESS CONTROL MODULE>REMOVAL .

    No  : GO TO  7.

  7. CHECK STEERING LOCK CONTROL MODULE  .
    1. Using the Subaru Select Monitor, perform the clear memory of [Keyless Access with Push Button Start (Collation)]. Ref. to COMMON (DIAGNOSTICS)>CLEAR MEMORY .
    2. Read the DTC of [Keyless Access with Push Button Start (Collation)] using the Subaru Select Monitor. Ref. to KEYLESS ACCESS WITH PUSH BUTTON START (DIAGNOSTICS)>DIAGNOSTIC TROUBLE CODE (DTC) .

    Is DTC B2786 displayed? (Current code)

    Yes  : Replace the steering lock control module. Ref. to SECURITY AND LOCKS>STEERING LOCK CONTROL MODULE>REPLACEMENT .

    No  : Even if DTC is displayed, the circuit has returned to a normal condition at this time. Reproduce the failure, and then perform the diagnosis again.

    NOTE: In this case, temporary poor contact of connector, temporary open or short circuit of harness may be the cause.