LEMON Manuals: Even more car manuals for everyone
Home >> Saturn >> 1999 >> SL2 Automatic, MP6 >> Repair and Diagnosis >> Engine Performance >> Remove, Overhaul & Install >> Engine Control System Removal, Installation & Overhaul >> Fuel System >> Fuel Sender Assembly Service (Metro & Firefly (CANADIAN))

Fuel Sender Assembly Service (Metro & Firefly (CANADIAN))

CAUTION: Gasoline or gasoline vapors are highly flammable. A fire could occur if an ignition source is present. Never drain or store gasoline or diesel fuel in an open container, due to the possibility of fire or explosion. Have a dry chemical (Class B) fire extinguisher nearby.
  1. Remove the fuel sender assembly from the fuel tank. Refer to FUEL SENDER ASSEMBLY REPLACEMENT (METRO & FIREFLY (CANADIAN)) .
  2. Fig 1: Identifying Fuel Sender Electrical Connector
    GM332234
  3. Disconnect the electrical connector (1) from the fuel sender assembly.
    Fig 2: Locating Retaining Tab
    GM332237
    IMPORTANT: Do not apply pressure to the sensor resistor plate or to the float arm. Pressure can deform these parts and cause the parts to operate incorrectly.
  4. Depress the retaining tab (1), and slide the fuel level sensor assembly down in order to remove the sensor from the fuel sender assembly.
  5. Fig 3: Identifying Lower Assembly End Cap
    GM332243
  6. Remove the lower assembly end cap (1) by releasing the 3 snap-fit retainers with a screwdriver (2).
  7. Fig 4: Identifying Fuel Pump Cushion
    GM332246
  8. Remove the fuel pump cushion (1).
  9. Fig 5: Identifying Fuel Pump Electrical Connections
    GM332248
  10. Disconnect the 2 fuel pump electrical connections (1) from the fuel sender sub-assembly.
  11. Fig 6: Identifying Fuel Sender Assembly Housing
    GM355412
  12. Pull the fuel pump (1) firmly down out of the fuel sender assembly housing (2).
  13. Release the 3 snap-fit retainers that secure the housing (2) to the fuel sender sub-assembly, and remove the housing.
    Fig 7: Identifying Fuel Sender Sub-Assembly Components
    GM332249
    IMPORTANT: When removing the fuel tube and the grommets, be careful not to damage the sealing surfaces. If the sealing surfaces are damaged, a fuel leak may occur.
  14. Remove the fuel tube (4) and the 2 grommets (3) from the fuel sender sub-assembly. The fuel sender sub-assembly contains the fuel filter and must be serviced as an assembly.
    IMPORTANT: Use of new grommets, new cushions, and new spacers is recommended in order to prevent failure and fuel pressure loss.
  1. Install the spacer (2) onto the fuel pump outlet pipe. See Fig 7.
  2. Lubricate the grommets (3) with engine oil, and install the 2 grommets (3) and the fuel tube (4) into the fuel sender sub-assembly.
  3. Install the housing (2) to the fuel sender sub-assembly, and interlock the 3 snap-fit retainers. See Fig 6.
  4. Install the fuel pump (1) through the housing (2) and into the fuel sender sub-assembly. Align the fuel pump outlet pipe with the fuel tube in the sub-assembly.
  5. Install the fuel pump cushion (1) between the fuel pump and the lower assembly end cap. See Fig 4.
  6. Attach the lower assembly end cap to the housing, and interlock the 3 snap-fit retainers.
  7. Connect the 2 fuel pump electrical connectors (1) to the fuel sender assembly. See Fig 5.
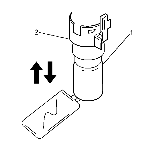
  8. Fig 8: Identifying Channel On Fuel Sender Assembly
    GM332251
  9. Insert the locating-tab (1) on the fuel level sensor assembly into the channel (2) on the fuel sender assembly. Slide the sensor assembly upward until the assembly is locked into place.
  10. Connect the electrical connector (1) to the fuel sender assembly. See Fig 1.
  11. Install the fuel sender assembly into the fuel tank. Refer to FUEL SENDER ASSEMBLY REPLACEMENT (METRO & FIREFLY (CANADIAN)) .