LEMON Manuals: Even more car manuals for everyone
Home >> Mercury >> 2009 >> Sable Base, AWD >> Repair and Diagnosis >> External Pages >> Different car >> Section 655 (Automatic Transaxle/Transmission External Controls) >> Removal And Installation >> Selector Lever >> Installation

Selector Lever: Installation

WARNING: This page is about a different car, the 2006 Mercury Milan, 2006 Lincoln Zephyr, and 2006 Ford Fusion. However, it is still accessible from the selected car via links, so may be relevant.
  1. Install the selector lever and the 4 nuts.
    • Tighten to 12 Nm (9 lb-ft).
      Fig 1: Locating Nuts
      G04682028Courtesy of FORD MOTOR CO.
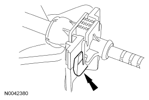
  2. Connect the electrical connector.
    Fig 2: Locating Electrical Connector
    G04682029Courtesy of FORD MOTOR CO.
  3. NOTE: When installing the selector lever cable, make sure that the selector lever cable locking tabs are locked in place and the cable end is snapped onto the ball stud. Press the selector lever cable into the bracket and listen for the cable to click in place. Pull back on the selector lever cable to make sure that it is locked into the bracket. Also make sure that the selector lever cable end is correctly installed onto the ball stud. Pull back on the selector lever cable end to make sure that the cable end is correctly installed.
    Fig 3: Locating Selector Lever Cable Locking Tabs
    G04682030Courtesy of FORD MOTOR CO.
  4. Install the selector lever cable in the selector lever housing.
  5. Connect the selector lever cable end to the selector lever.
    Fig 4: Locating Selector Lever Cable End
    G04682031Courtesy of FORD MOTOR CO.
  6. Install the center console. For additional information, refer to INSTRUMENT PANEL AND CONSOLE .
  7. Adjust the selector lever cable, refer to SELECTOR LEVER CABLE ADJUSTMENT .