LEMON Manuals: Even more car manuals for everyone
Home >> Mercury >> 2009 >> Sable Base, AWD >> Repair and Diagnosis >> External Pages >> Different car >> Section 655 (Automatic Transaxle/Transmission External Controls) >> General Procedures >> Selector Lever Cable Adjustment

Selector Lever Cable Adjustment

WARNING: This page is about a different car, the 2006 Mercury Milan, 2006 Lincoln Zephyr, and 2006 Ford Fusion. However, it is still accessible from the selected car via links, so may be relevant.

    6-speed transaxle 

  1. Disconnect the selector lever cable end from the manual lever.
    Fig 1: Locating Selector Lever Cable End
    G04681998Courtesy of FORD MOTOR CO.
  2. Place the manual control lever in DRIVE.
    1. Place the manual control lever in PARK.
    2. Move the manual control lever counterclockwise 3 detents to the DRIVE position.
      Fig 2: Placing Manual Control Lever In Drive
      G04681999Courtesy of FORD MOTOR CO.
  3. FNR5 transaxle 

  4. Disconnect the selector lever cable end from the manual lever.
    Fig 3: Locating Selector Lever Cable End
    G04682000Courtesy of FORD MOTOR CO.
  5. NOTE: Transaxle shown removed for clarity.
  6. Place the manual control lever in NEUTRAL.
    1. Place the manual control lever in PARK.
    2. Move the manual control lever clockwise 3 detents to the DRIVE position.
      Fig 4: Placing Manual Control Lever In Neutral
      G04682001Courtesy of FORD MOTOR CO.
  7. All vehicles 

  8. Place the gear selector lever in DRIVE.
    Fig 5: Locating Gear Selector Lever
    G04682002Courtesy of FORD MOTOR CO.
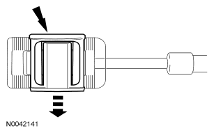
  9. Unlock the adjuster by sliding the locking tab over.
    Fig 6: Sliding Locking Tab Over
    G04682003Courtesy of FORD MOTOR CO.
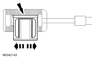
  10. Slide the cable end forward or backward to align it with the manual lever.
    Fig 7: Sliding Cable End
    G04682004Courtesy of FORD MOTOR CO.
  11. NOTE: FNR5 selector lever cable end shown, 6 speed transaxle similar.
    Fig 8: Locating FNR5 Selector Lever Cable
    G04682005Courtesy of FORD MOTOR CO.
  12. With the adjuster locking tab released connect the selector lever cable end to the manual lever.
  13. NOTE: FNR5 selector lever cable end shown, 6 speed transaxle similar.
    Fig 9: Releasing Tab Back To Lock Adjuster
    G04682006Courtesy of FORD MOTOR CO.
  14. Slide the release tab back to lock the adjuster.
  15. Verify that the vehicle starts in PARK and NEUTRAL only and that the reverse lamps illuminate in REVERSE.