LEMON Manuals: Even more car manuals for everyone
Home >> Mazda >> 2006 >> MPV ES >> Repair and Diagnosis >> Engine Performance >> Engine Control Systems >> Pcm Removal/Installation >> Notes

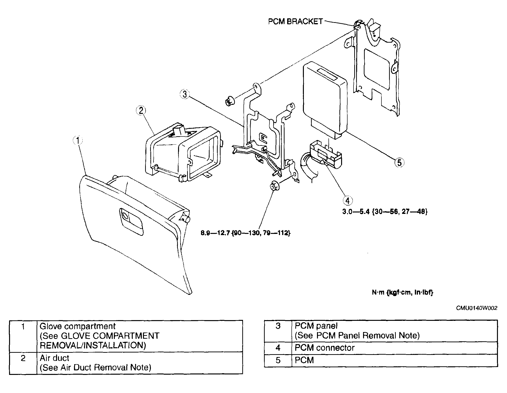
Pcm Removal/Installation: Notes

  1. Disconnect the negative battery cable.
  2. Remove the TCM.

    (See TCM REMOVAL/INSTALLATION )

  3. Remove in the order indicated in the table.
  4. Install in the reverse order of removal.
Fig 1: Removing/Installing PCM
G04328303Courtesy of MAZDA MOTORS CORP.