LEMON Manuals: Even more car manuals for everyone
Home >> Mazda >> 1987 >> RX-7 Base, Standard >> Repair and Diagnosis >> Engine Performance >> System >> Air Injection System >> System Testing >> By-Pass Air Control System >> Inhibitor Switch (Auto. Trans.)

Inhibitor Switch (Auto. Trans.)

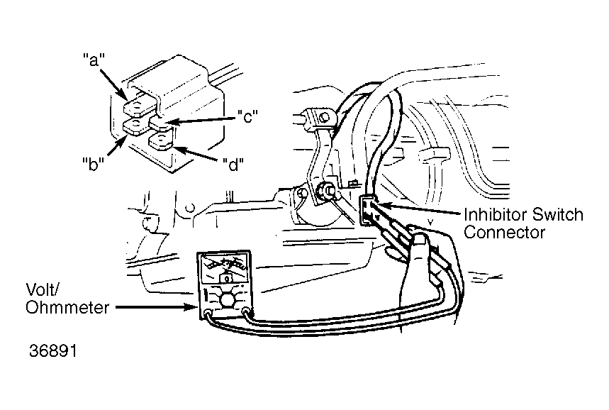
Disconnect inhibitor switch connector. Connect volt/ohmmeter to neutral switch, and then check continuity between switch. When transmission is in Neutral or Park, switch should be closed. When transmission is in gear, switch should be open. See Fig 1 .

Fig 1: Testing Inhibitor Switch
G36891Courtesy of MAZDA MOTORS CORP.