Diagnostic Test
WARNING: This page is about a different car, the 2009 Jeep Liberty. However, it is still accessible from the selected car via links, so may be relevant.
- TEST FOR INTERMITTENT CONDITION
- Turn the ignition on.NOTE: Ensure the IOD fuse is installed and battery voltage is between 10.0 and 16.0 volts.
- With the scan tool, select ECU View.NOTE: A red "X" will be next to the module that is not communicating, indicating that the module is not active on the Bus network. A green check indicates that the module is active on the Bus network.
Does the scan tool display a red "X" next to the module?
Yes
- Go to step 2
No
- The no response condition is not present at this time. Using the wiring diagram/schematic as a guide, inspect the wiring for chafed, pierced, pinched, and partially broken wires and the wiring harness connectors for broken, bent, pushed out, and corroded terminals.
- Turn the ignition on.
- (A416) FUSED B(+) (I.O.D.) CIRCUIT OPEN OR SHORTED
- Turn the ignition off.
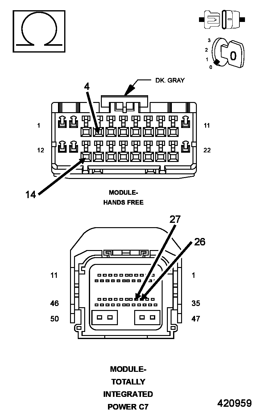
- Disconnect the Hands Free Module harness connector.
- Using a 12-volt test light connected to ground, check the (A416) Fused B(+) (I.O.D.) circuit.
Does the test light illuminate brightly?
Yes
- Go to step 3
No
- Repair the (A416) Fused B(+) (I.O.D.) circuit for an open or short.
- Perform the BODY VERIFICATION TEST. Refer to DTC-Based Diagnostics/MODULE, Totally Integrated Power (TIPM) - Standard Procedure
- (Z909) GROUND CIRCUIT OPEN
- Using a 12-volt test light connected to 12-volts, check the (Z909) ground circuit.
Does the test light illuminate brightly?
Yes
- Go to step 4
No
- Repair the (Z909) ground circuit for an open.
- Perform the BODY VERIFICATION TEST. Refer to DTC-Based Diagnostics/MODULE, Totally Integrated Power (TIPM) - Standard Procedure
- Using a 12-volt test light connected to 12-volts, check the (Z909) ground circuit.
- (D265) OR (D264) CAN INTERIOR BUS (125K) CIRCUIT OPEN
- Measure the resistance of the (D264) CAN C Interior Bus (-) (125K) circuit between the TIPM C7 harness connector and the HFM harness connector.
- Measure the resistance of the (D265) CAN C Interior Bus (+) (125K) circuit between the TIPM C7 harness connector and the HFM harness connector.
Is resistance below 5.0 ohms on both circuits?
Yes
- Replace the Hands Free Module in accordance with the Service Information.
- Perform the BODY VERIFICATION TEST. Refer to DTC-Based Diagnostics/MODULE, Totally Integrated Power (TIPM) - Standard Procedure
No
- Repair the (D265) or (D264) CAN Interior Bus (125K) circuit for an open. Inspect the connector for damage.
- Perform the BODY VERIFICATION TEST. Refer to DTC-Based Diagnostics/MODULE, Totally Integrated Power (TIPM) - Standard Procedure