LEMON Manuals: Even more car manuals for everyone
Home >> Jeep >> 2013 >> Compass Limited, AWD, Trans Mfr CD CVT2 >> Repair and Diagnosis >> External Pages >> Different car >> Section 47 (Can Communication System - Non-DTC Diagnostics) >> Diagnosis and Testing >> Diagnostic Can C (+) Circuit Open >> Diagnostic Test

Diagnostic Test

WARNING: This page is about a different car, the 2009 Jeep Liberty. However, it is still accessible from the selected car via links, so may be relevant.
  1. CHECK THE STATUS OF THE ERROR MESSAGE 
    NOTE: Ensure the vehicle being tested is a CAN BUS VEHICLE. If not, false error messages may be displayed.
    NOTE: Ensure the scan tool is updated to the latest software.
    1. With the scan tool, record the error message.
    2. Disconnect the scan tool from the DLC.
    3. Cycle the ignition from on to off 3 times.
    4. Turn the ignition on.

      Does the scan tool display this same error message?

      Yes 

      • Go to step  2

      No 

      • The conditions that caused this error message to set are not present at this time. Using the wiring diagram/schematic as a guide, inspect the wiring and connectors.
  2. (D72) DIAGNOSTIC CAN C (+) CIRCUIT OPEN 
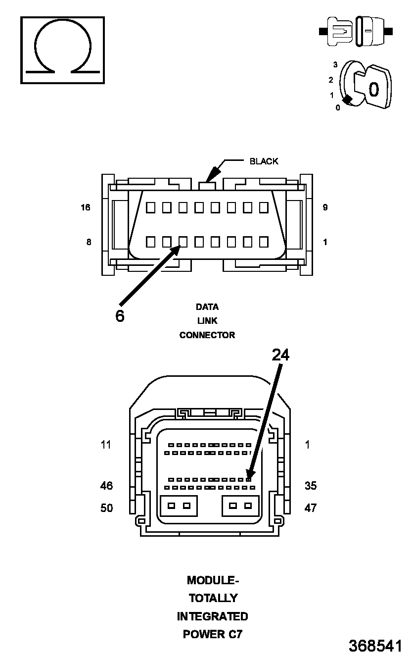
    Fig 1: CHECKING DIAGNOSTIC CAN C (+) CIRCUIT FOR OPEN
    GC0102322Courtesy of CHRYSLER LLC
    1. Turn the ignition off.
    2. Disconnect the TIPM C7 harness connector.
    3. Disconnect the scan tool from the DLC.
    4. Measure the resistance of the (D72) Diagnostic CAN C (+) circuit between the TIPM C7 harness connector and the DLC.

      Is the resistance below 5.0 ohms?

      Yes 

      No