LEMON Manuals: Even more car manuals for everyone
Home >> Acura >> 2021 >> TLX Base >> Repair and Diagnosis >> External Pages >> Different variant/trim >> Section 18 (Electrical Component Locator And Service Information - Intake Manifold Area Components (3.0L Engine)) >> Exploded View >> Intake Manifold Area (3.0L Engine) >> Repair Procedure

Repair Procedure

WARNING: This page is about a different variant/trim than selected.

How to use this manual .

GHH562017Courtesy of HONDA, U.S.A., INC.
: Torque, N.m (lbf.ft) : Replace : Warning/Caution : Inspection/Adjustment *: Learning ■: SPL Tool : Required Removal
GHH562018Courtesy of HONDA, U.S.A., INC.
: Torque, N.m (lbf.ft) : Replace : Warning/Caution : Inspection/Adjustment *: Learning ■: SPL Tool : Required Removal
GHH562019Courtesy of HONDA, U.S.A., INC.
: Torque, N.m (lbf.ft) : Replace : Warning/Caution : Inspection/Adjustment *: Learning ■: SPL Tool : Required Removal
GHH562020Courtesy of HONDA, U.S.A., INC.
: Torque, N.m (lbf.ft) : Replace : Warning/Caution : Inspection/Adjustment *: Learning ■: SPL Tool : Required Removal
GHH562021Courtesy of HONDA, U.S.A., INC.
: Torque, N.m (lbf.ft) : Replace : Warning/Caution : Inspection/Adjustment *: Learning ■: SPL Tool : Required Removal
  1. A.-
    WARNING:

    Do not insert your fingers into the installed throttle body when you turn the vehicle to the ON mode, or while the vehicle is in ON mode. If you do, you will seriously injure your fingers if the throttle valve is activated.

    Preconditions 

    Key Information 

    Do the following before starting your work.

    Remove: 

    Sub-Procedure 

    Removal 

    NOTE:  Plug the water bypass hoses.

    Installation 

    Tightening Procedure 

    Step Operation Object Detail
    1 Temporarily Tighten All Bolts Until they sit on the throttle body
    2 Temporarily Tighten All Bolts Until the gasket is compressed
    3 Tighten All Bolts -> -> ->
    GHH562022Courtesy of HONDA, U.S.A., INC.

    After Installation 

  2. B.-
    WARNING:

    Flammable - Keep Fire Away

    NOTE:

    Refer to the Fuel and Emissions Systems Service Precautions before doing the procedure.

    Key Information 

    Do the following before starting your work.

    Remove: 

    Sub-Procedure 

    GHH562023Courtesy of HONDA, U.S.A., INC.

    Installation 

    Tightening Procedure 

    Step Operation Object Detail
    1 Tighten All Bolts ->
  3. C.-

    Key Information 

    Do the following before starting your work.

    Remove: 

    Sub-Procedure 

    Installation 

    Lubricant Specifications 

    Object Type
    O-Ring Engine Oil
  4. D.-

    Key Information 

    Do the following before starting your work.

    Remove: 

    Sub-Procedure 

    Installation 

    Lubricant Specifications 

    Object Type
    O-Ring Engine Oil
  5. E.-
    NOTE:

    Refer to the Fuel Line/ Quick-Connect Fitting Precautions before doing the procedure.

    Key Information 

    Do the following before starting your work.

    Remove: 

  6. F.-
    NOTE:

    Refer to the Fuel Line/ Quick-Connect Fitting Precautions before doing the procedure.

    Key Information 

    Do the following before starting your work.

    Remove: 

  7. G.-
    WARNING:

    Flammable - Keep Fire Away

    NOTE:

    Preconditions 

    Key Information 

    Do the following before starting your work.

    Remove: 

    After Installation 

  8. H.-
    NOTE:

    Refer to the Fuel and Emissions Systems Service Precautions before doing the procedure.

    Key Information 

    Do the following before starting your work.

    Remove: 

  9. I.-
    WARNING:

    Flammable - Keep Fire Away

    NOTE:

    Refer to the Fuel and Emissions Systems Service Precautions before doing the procedure.

    Key Information 

    Do the following before starting your work.

    Remove: 

  10. J.-
    WARNING:

    Flammable - Keep Fire Away

    NOTE:

    Refer to the Fuel and Emissions Systems Service Precautions before doing the procedure.

    Key Information 

    Do the following before starting your work.

    Remove: 

  11. K.-
    NOTE:

    Refer to the Fuel and Emissions Systems Service Precautions before doing the procedure.

    Key Information 

    Do the following before starting your work.

    Remove: 

  12. L.-

    Key Information 

    Do the following before starting your work.

    Remove: 

    After Installation 

  13. M.-

    NOTE:  When removing the throttle body, it is not necessary to disconnect the water bypass hoses from the throttle body.

    Key Information 

    NOTE:  For the removal and installation procedure, refer to Intake Manifold Removal and Installation - Refer to: Intake Manifold Removal and Installation(3.0L Engine) and the sub-procedure below.

    Sub-Procedure 

    Installation 

    Tightening Procedure 

    Step Operation Object Detail
    1 Temporary Tighten All Bolts and Nuts Until they sit on the intake manifold
    2 Temporary Tighten All Bolts and Nuts Until the gasket is compressed
    3 Tighten All Bolts and Nuts -> -> -> -> -> -> ->
    GHH562024Courtesy of HONDA, U.S.A., INC.
  14. N.-
    WARNING:

    Flammable - Keep Fire Away

    NOTE:
    • Refer to the Fuel Line/Quick-Connect Fitting Precautions before doing the procedure.
    • The fuel joint pipe cannot be reused once it has been removed or loosened. Failure to install a new fuel joint pipe will cause fuel leaks.

    Preconditions 

    Sub-Procedure 

    Installation 

    Lubricant Specifications (Figure 1) 

    Position Type
    a Polyethylene Glycol (include in new fuel joint pipe kit)
    b

    Figure 1 

    GHH562025Courtesy of HONDA, U.S.A., INC.

    1. If not already done, loosen the bolts (c), then tighten them in an alternating pattern until the high pressure fuel pump is in contact with the rear cylinder head cover. (Figure 2).

    2. Tighten the nuts and the bolts, in sequence. (Figure 2)

    NOTE:

    A crowfoot-type special tool increases the torque applied by the torque wrench. Refer to Service Precautions for details on how to recalculate the torque wrench setting

    Tightening Procedure (Figure 2) 

    Step Operation Object Detail
    1 Hand Tighten , , The end of the joint pipe is seated on the fuel rails or the high pressure fuel pump.
    2 Loosely Install , Set the brackets (d) to the rear cylinder head, and loosely install it.
    3 Tighten All Bolts and Nuts -> -> -> -> ->

    Figure 2 

    GHH562026Courtesy of HONDA, U.S.A., INC.

    After Installation 

  15. O.-
    WARNING:

    Flammable - Keep Fire Away

    NOTE:

    Preconditions 

    Sub-Procedure 

    Removal 

    • Loosen the bolts alternately.

    Installation 

    Lubricant Specifications 

    Object Type 
    O-Ring Engine Oil
    • Temporarily tighten the bolts in an alternating pattern until the high pressure fuel pump is in contact with the rear cylinder head.
    • NOTE:
      • To prevent damage to the O-ring, do not use any power tools (pneumatic or electric).
      • During the fuel joint pipe installation procedure, the bolts are tightened to the specified torque.

    After Installation 

  16. P.-

    Sub-Procedure 

    GHH562027Courtesy of HONDA, U.S.A., INC.

    Installation 

    1. Check the high pressure fuel pump cam - Refer to: High Pressure Fuel Pump Cam Inspection(3.0L Engine) .

    2. Check the position of the high pressure fuel pump cam (a). If needed, rotate the crankshaft to set it to the flat position as shown.

    Lubricant Specifications 

    Position Type
    a Engine Oil
    b
    c
  17. Q.-
    WARNING:

    Flammable - Keep Fire Away

    NOTE:

    Refer to the Fuel and Emissions Systems Service Precautions before doing the procedure.

    Preconditions 

    Key Information 

    NOTE:  For the removal and installation procedure, refer to Injector Removal and Installation - Refer to: Injector Removal and Installation(3.0L Engine) and the sub-procedure below.

    Sub-Procedure 

    NOTE:
    • When replacing the fuel injector, always replace all three injectors on the same bank as a set.
    • If you reuse the injector after removal, note the cylinder number and install it to the same cylinder.

    Removal 

    1. Carefully remove the fuel rail with the injectors straight from the cylinder head.

    NOTE:

    If the injector remains on the cylinder head, carefully remove the injector straight from the cylinder head.

    Figure 1 

    2. Carefully remove the seal (a) from the injector. (Figure 1)

    GHH562028Courtesy of HONDA, U.S.A., INC.

    Installation 

    NOTE:
    • Do not wipe off the tip area (b) of the injector as it may be damaged. (Figure 2)
    • If the tip of the injector is dirty or clogged, it must be replaced. The tip of the injector cannot be cleaned.
    • Be sure to protect the injector from dust or debris.

    Figure 2 

    1. Use compressed air to insure that there are no dust or debris around the ring (c). (Figure 2)

    GHH562029Courtesy of HONDA, U.S.A., INC.

    2. With a paper towel, carefully wipe off any carbon from the area (d) shown. (Figure 2)

    3. Install the sizing tool (e) to the injector (f) as shown. (Figure 3)

    NOTE:

    Do not allow the tool to come in contact with the tip of the injector.

    Figure 3 

    GHH562030Courtesy of HONDA, U.S.A., INC.

    Figure 4 

    4. Install the seal guide (g) over the tip of the injector (h) as shown. (Figure 4)

    GHH562031Courtesy of HONDA, U.S.A., INC.

    Figure 5 

    5. Slide the seal (i) on the seal guide as shown. (Figure 5)

    GHH562032Courtesy of HONDA, U.S.A., INC.

    Figure 6 

    6. Slide the seal installer (k) onto the seal guide, then quickly push the seal down to the groove (m) of the injector. (Figure 6)

    GHH562033Courtesy of HONDA, U.S.A., INC.

    7. Remove the seal guide and the seal installer from the injector.

    8. Move the sizing tool and align the top of the injector surface (n) and the tool's inner surface (o) as shown, and hold the tool to reform the seal for 30 seconds or more. (Figure 7)

    Figure 7 

    NOTE:

    Make sure the seal (p) is not deformed when moving the tool. (Figure 7)

    GHH562034Courtesy of HONDA, U.S.A., INC.

    Figure 8 

    9. Remove the sizing tool, and check that the seal (q) is installed correctly. (Figure 8)

    NOTE:

    When cleaning the sizing tool and the seal guide, be careful not to scratch the sizing tool bore or the surface of the seal guide.

    GHH562035Courtesy of HONDA, U.S.A., INC.

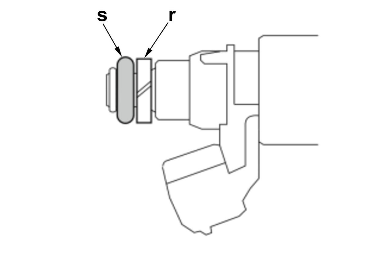
    Figure 9 

    10. Make sure that the back-up ring (r) is not deformed. (Figure 9)

    Lubricant Specifications (Figure 9) 

    Position Type
    s Engine Oil
    GHH562036Courtesy of HONDA, U.S.A., INC.

    Figure 10 

    11. Carefully install the fuel rail(s) (t) with the injectors into the cylinder head(s) straight and equal. (Figure 10)

    NOTE:

    Protect the tip of the injector from dust or debris.

    Lubricant Specifications (Figure 10) 

    Position Type
    u Engine Oil
    GHH562037Courtesy of HONDA, U.S.A., INC.

    Tightening Procedure 

    Step Operation Object Detail
    1 Temporary Tighten All Nuts Alternately, until the fuel rail(s) sits on the cylinder head(s)
    2 Tighten All Bolts and Nuts Specified Torque

    After Installation 

  18. R.-

    Sub-Procedure 

    GHH562038Courtesy of HONDA, U.S.A., INC.

    Removal 

    • Refer to the figure.