LEMON Manuals: Even more car manuals for everyone
Home >> Acura >> 2009 >> CSX Base, Automatic >> Repair and Diagnosis >> External Pages >> Different car >> Section 9 (Power Steering System) >> Steering >> Steering Lock Replacement

Steering Lock Replacement

WARNING: This page is about a different car, the 2011 Acura TL, 2010 Acura TL, and 2009 Acura TL. However, it is still accessible from the selected car via links, so may be relevant.
  1. Remove the steering column (see STEERING COLUMN REMOVAL AND INSTALLATION )
  2. Center-punch both of the shear bolts, and drill their heads off with a 5 mm (3/16 in) drill bit Be careful not to damage the switch body when removing the shear bolts
    Fig 1: Drilling Shear Bolts Heads
    G05987573Courtesy of AMERICAN HONDA MOTOR CO., INC.
  3. Remove the shear bolts from the switch body
  4. Install the switch body without the key inserted
  5. Loosely tighten the new shear bolts
  6. Insert the ignition key, and check for proper operation of the steering wheel lock and that the ignition key turns freely
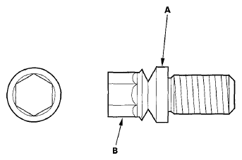
  7. Tighten the shear bolts (A) until the hex heads (B) twist off
    Fig 2: Identifying Shear Bolts Positions
    G05987574Courtesy of AMERICAN HONDA MOTOR CO., INC.
  8. Rewrite the new immobilizer control unit-receiver (see IMMOBILIZER KEY REGISTRATION ), and make sure the immobilizer system works properly
  9. Install the steering column (see INSTALLATION )