LEMON Manuals: Even more car manuals for everyone
Home >> Acura >> 1996 >> NSX Standard >> Repair and Diagnosis >> Engine Performance >> System >> Engine Controls - System & Component Testing >> Variable Valve Timing >> VTEC Spool Valve

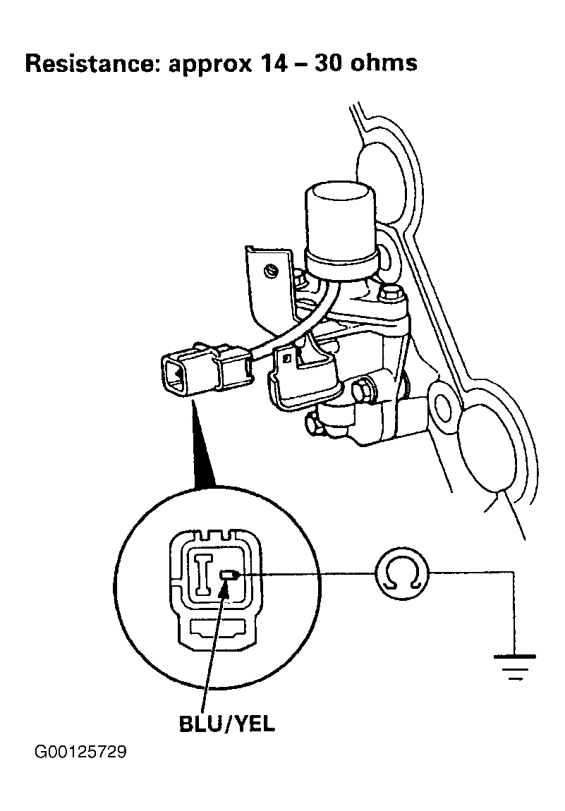
VTEC Spool Valve

  1. Disconnect the 2 pin connector from the spool valve.
  2. Measure resistance between the Blue/Yellow terminal and body ground. Resistance should be approximately 14-30 ohms. See Fig 1 .
    Fig 1: Testing VTEC Spool Valve Resistance
    G00125729Courtesy of AMERICAN HONDA MOTOR CO., INC.
  3. If the resistance is within specifications, remove the spool valve assembly from the cylinder head and check the spool valve filter for clogging. If there is clogging, replace the engine oil filter and engine oil. See Fig 2 .
    Fig 2: Inspecting VTEC Spool Valve
    G00125721Courtesy of AMERICAN HONDA MOTOR CO., INC.
  4. If filters are normal, push the spool valve with your finger and check its movement. See Fig 3 . If spool valve is normal, check the engine oil pressure. With oil temperature at 176°F (80°C), oil pressure should be 10 psi (69 kPa) minimum at idle, and 50 psi (345 kPa) minimum at 3000 RPM.
Fig 3: Testing VTEC Spool Valve Operation
G00125722Courtesy of AMERICAN HONDA MOTOR CO., INC.