LEMON Manuals: Even more car manuals for everyone
Home >> Yugo >> 1987 >> GV >> Repair and Diagnosis >> Engine Performance >> System >> Air Injection System >> Operation >> Warm Engine

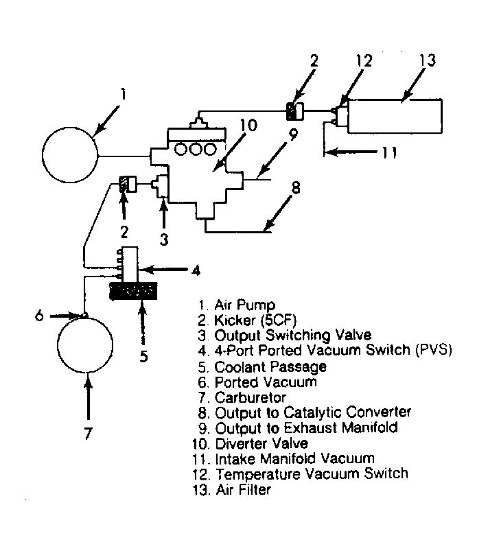
Warm Engine

With coolant temperature greater than 128°F (53.3°C), the 4-port PVS opens and ported vacuum is applied to the diverter valve. Manifold vacuum is also applied through a temperature vacuum switch in the air cleaner at ambient temperatures greater than 60°F (15.5°C). Air pump output is channeled to the exhaust manifold at idle, to the catalytic converter at part throttle, and vented to the atmosphere at wide open throttle.

Fig 1: Air Injection System Schematic (1987)
G67661Courtesy of YUGO AMERICA, INC.