LEMON Manuals: Even more car manuals for everyone
Home >> Volvo >> 2017 >> S60 T5 Inscription, AWD >> Repair and Diagnosis >> External Pages >> Different variant/trim >> Section 37 (Media, Communication And Navigation - Design And Function) >> Infotainment System SENSUS - Vehicles With Structure Week -201345 >> Infotainment System SENSUS - Vehicles With Structure Week -201345 [2011-2015] >> System Overview >> Performance Sound

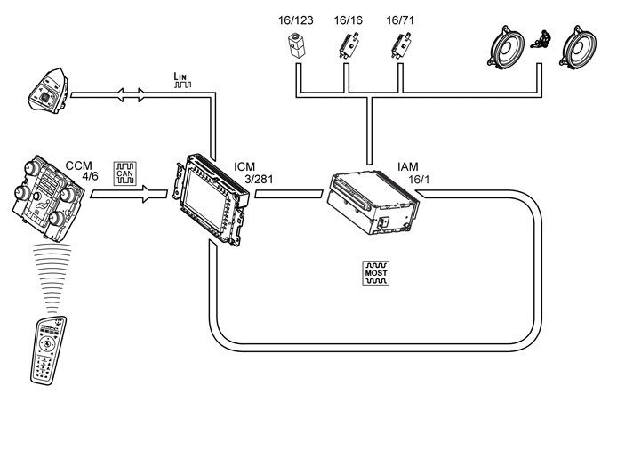
Performance Sound

WARNING: This page is about a different variant/trim than selected.
GLL1001881Courtesy of VOLVO CARS CORPORATION

Infotainment package Performance Sound includes Infotainment Control Module (ICM) (3/281) with 5" screen, Integrated Audio Module (IAM) (16/1), Climate Control Module (CCM) (4/6) and Steering Wheel Button Right (SWSR) (via Steering Wheel Module (SWM) (3/130).

Possible option: