LEMON Manuals: Even more car manuals for everyone
Home >> Volvo >> 2016 >> S80 T5 >> Repair and Diagnosis >> Engine Performance >> Engine Control Systems >> Ignition And Control Systems - Design And Function >> Engine Control Module (ECM) >> Engine Control Module (ECM) [2007-2010, B6324S | 2011-2015, B6324S5] >> Design >> Actuator Variable Intake Manifold

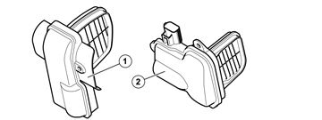
Actuator Variable Intake Manifold

GLL156896Courtesy of VOLVO CARS CORPORATION
  1. Primary actuator with throttle (upper)
  2. Secondary actuator with throttle (lower)

The function of the actuators is to vary the length of the intake manifold, via throttles installed in the intake manifold.

The actuators are supplied with voltage from the system relay via fuse and ground (control) internally in the engine control module (ECM).

See also: VARIABLE INTAKE SYSTEM 

The actuators for variable intake can be diagnosed by the engine control module (ECM).

The actuators are bolted directly to the intake manifold.