LEMON Manuals: Even more car manuals for everyone
Home >> Volvo >> 2015 >> S60 T6 R-Design >> Repair and Diagnosis >> Engine Performance >> Ignition System >> Ignition And Control Systems - Design And Function >> Engine Control Module >> Engine Control Module (ECM) [2011-2012, B5254T5] >> Function >> Fuel Pressure Regulation

Fuel Pressure Regulation

GLL153373Courtesy of VOLVO CARS CORPORATION

General 

Fuel pressure regulation for demand controlled fuel pumps means that the fuel pressure/flow is controlled steplessly by varying the output of the fuel pump. The design of the system means that the fuel pressure can be regulated between 300 and 500 kPa. The high pressure is used in extreme situations, such as heavy engine load for example and hot starts.

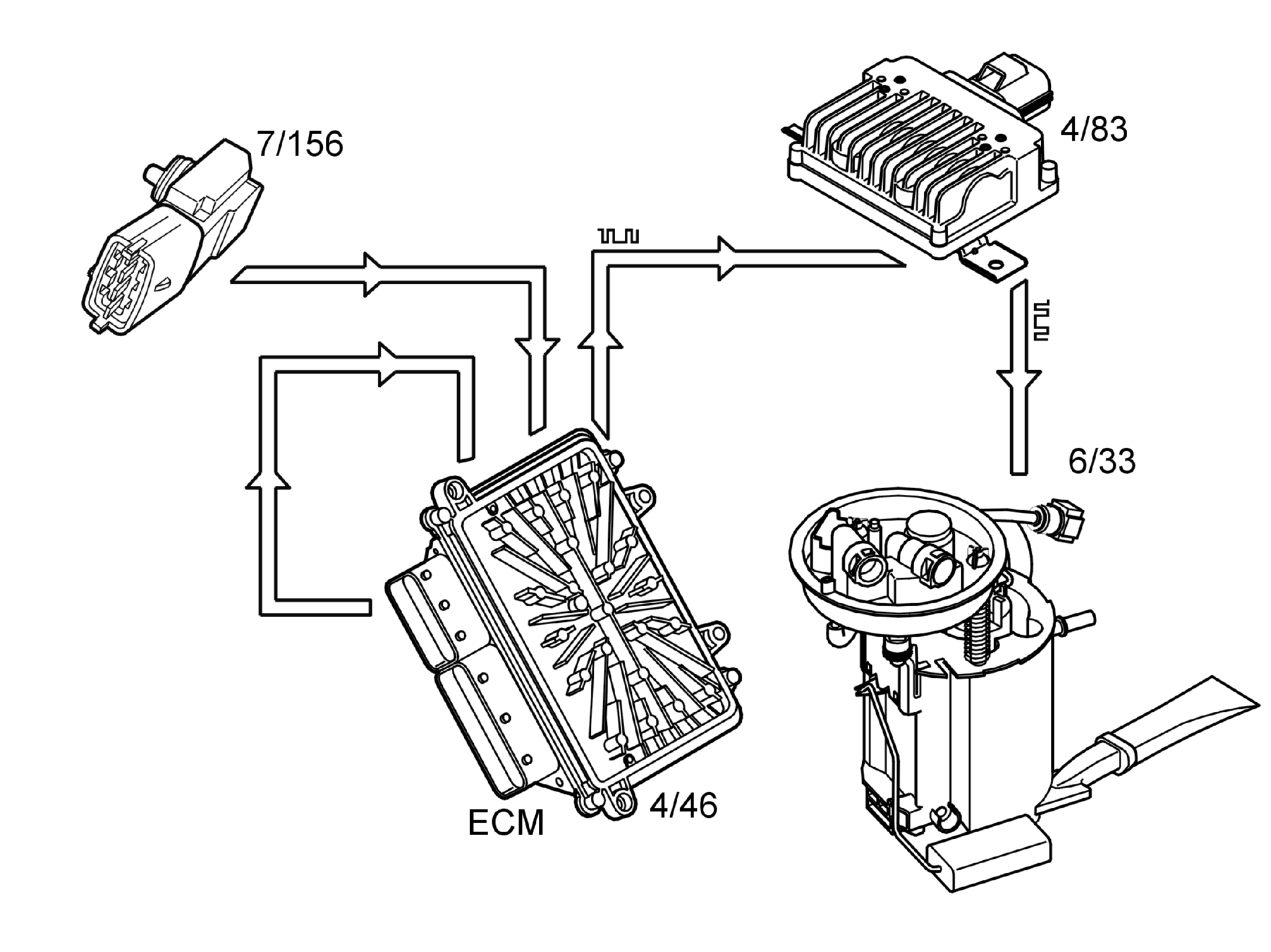
The following components are used for fuel pressure regulation:

The time taken for the engine start procedure can be reduced by rapidly increasing the pressure in the fuel rail when the engine control module (ECM) receives a signal about the position of the start control module (SCU) from the central electronic module (CEM).

The engine control module (ECM) is better able to calculate the injection period because the signal from the fuel pressure sensor provides information about the fuel pressure and actual fuel temperature. This particular improves the cold starting characteristics of the engine.

The advantages of varying the output of the fuel pump so that it is not always at full power are:

Control 

The engine control module (ECM) calculates the desired fuel pressure. A signal is then transmitted to the fuel pump control module indicating the desired fuel pressure. Serial communication between the engine control module (ECM) and the fuel pump control module is used to carry the signal. The fuel pump control module then operates the fuel pump unit to obtain the desired pressure using a pulse width modulation (PWM) voltage on the ground lead. The fuel pump (FP) can be controlled steplessly by changing the pulse ratio of the pulse width modulation (PWM) signal. Only that pressure which is required at that specific time will then be released to the fuel rail/injectors. The value of the pulse width modulation (PWM) signal is a measurement of the operational load of the fuel pump (FP) (% duty, 100% = maximum pressure).

The engine control module (ECM) continuously monitors the fuel pressure using the signal from the fuel pressure sensor. This allows the desired fuel pressure to be reached, and if necessary a signal is transmitted to the fuel pump control module requesting that the fuel pressure is adjusted. The engine control module (ECM) regulates stable fuel pressure (approximately 400 kPa relative to the atmospheric pressure with the engine running).

Passive safety 

For safety reasons, the engine control module (ECM) shuts off the fuel pump (FP) if the supplemental restraint system module (SRS) detects a collision.