LEMON Manuals: Even more car manuals for everyone
Home >> Volvo >> 2013 >> XC90 Base, AWD >> Repair and Diagnosis >> Steering >> Steering Column >> Electrical Components - Design And Function >> Upper Electronic Module (2003-2004) >> Function >> Sunroof Operation

Sunroof Operation

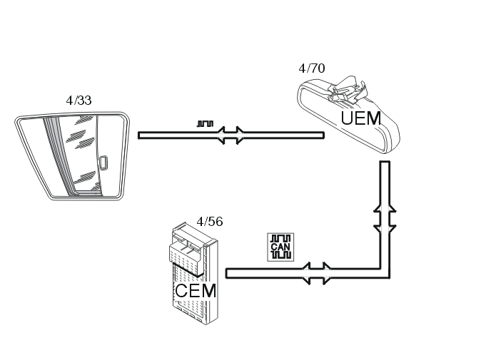
Fig 1: Identifying Sunroof Operation Overview
GLL106014Courtesy of VOLVO CARS CORPORATION

The sun roof communicates with the upper electronic module (4/70) via serial communication. The sun roof has an internal control module (4/33) which manages this communication.

Data about the sun roof position and data used for diagnostics is sent from the sun roof to the upper electronic module. Data about the position is sent on to other control modules, including the climate control module via the central electronic module (4/56).

The communication between the upper electronic module and the sun roof consists of diagnostic information.