LEMON Manuals: Even more car manuals for everyone
Home >> Volvo >> 2013 >> XC90 Base, AWD >> Repair and Diagnosis >> Engine Performance >> System >> Engine Control Module (ECM) Diagnostic Trouble Codes - 4 Of 13 >> ECM-340D: Camshaft Position Sensor, Intake. Signal Too Low (B5254T2; 2005-2007) >> Signal Too Low >> Checking Components And Wiring

Checking Components And Wiring

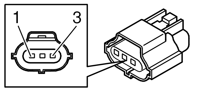
Check the signal cable between engine control module (ECM) terminal #A47 (#A47) and camshaft position (CMP) sensor connector terminal #3. Check for a short-circuit to ground.

Check the power cable between engine control module (ECM) terminal #A29 (#A29) and camshaft position (CMP) sensor connector terminal #1. Check for an open-circuit.

HINT: With the ignition on and the camshaft position (CMP) sensor connector disconnected, the voltage between terminal #1 and ground terminal should be approximately 5 V. 

Remedy as necessary.

Other information 

Fig 1: Identifying 3-Bit Connector
GLL139897Courtesy of VOLVO CARS CORPORATION
Fig 2: Identifying VCT2000 Diagnostic Tool Symbol In VIDA
GLL100563Courtesy of VOLVO CARS CORPORATION
Fig 3: Detecting Camshaft Flanks On Sensor
GLL128637Courtesy of VOLVO CARS CORPORATION