LEMON Manuals: Even more car manuals for everyone
Home >> Volvo >> 2013 >> XC90 Base, AWD >> Repair and Diagnosis >> Engine Performance >> System >> Engine Control Module (ECM) Diagnostic Trouble Codes - 3 Of 13 >> ECM-290A: Front Lambda Probe, Bank 2. Signal Too Low. Permanent Fault (B6294T; 2003-2004) >> Signal Too Low. Permanent Fault >> Checking Connector, Wiring And Components

Checking Connector, Wiring And Components

CAUTION:

Do not apply rust solvent spray or grease to the heated oxygen sensor (HO2S) connector.

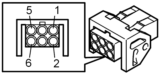
Check the heated oxygen sensor (HO2S) connector. Check for contact resistance and oxidation.

Check the signal cable (-) between heated oxygen sensor (HO2S) terminal #5 and control module terminal #A44 (#A44). Check the cable for calibration current between heated oxygen sensor (HO2S) terminal #2 and heated oxygen sensor (HO2S) terminal #A69 (#B9). Check for an open-circuit.

Check the cable for calibration current between heated oxygen sensor (HO2S) terminal #2 and control module terminal #A69 (#B9). Check the cable for pump current between heated oxygen sensor (HO2S) terminal #6 and control module terminal #A25 (#A54). Check for a short-circuit to each other.

If the connector and cables are OK try a new heated oxygen sensor (HO2S).

Remedy as necessary.

Other information: 

Fig 1: Identifying Front Heated Oxygen Sensor (HO2S) Connector Terminals
GLL101463Courtesy of VOLVO CARS CORPORATION
Fig 2: Identifying Ohm Meter
GLL101042Courtesy of VOLVO CARS CORPORATION
Fig 3: Identifying Front Heated Oxygen Sensor (HO2S)
GLL101447Courtesy of VOLVO CARS CORPORATION