LEMON Manuals: Even more car manuals for everyone
Home >> Volvo >> 2013 >> XC90 Base, AWD >> Repair and Diagnosis >> Engine Performance >> System >> Electronic Modules - Design And Function >> Engine (B8444S; 2005-2011) >> Function >> Crankshaft Movement

Crankshaft Movement

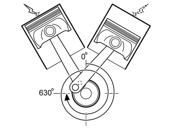
Fig 1: View Of Crankshaft Relationships
GLL154236Courtesy of VOLVO CARS CORPORATION

To achieve an even running and characteristic V8 sound, the ignition impulse interval is 90 crankshaft degrees. To reach this in an engine with a 60 degree angle between the cylinder banks, the crankshaft pins for the opposing cylinder pairs are offset by 30 degrees.

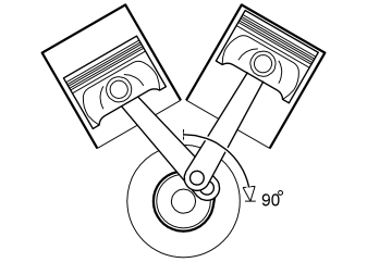
Fig 2: Identifying Crankshaft Pins Offset By 30 Degrees.
GLL154237Courtesy of VOLVO CARS CORPORATION

When the left hand piston is at the top, the right hand piston is halfway between the upper and lower turn points. This is because the crankshaft pins are internally offset by 30 degrees.

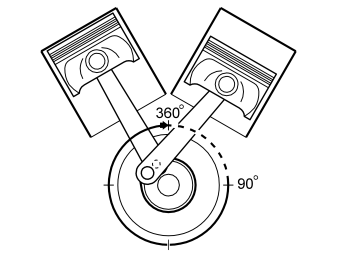
Fig 3: Crankshaft Rotated 90 Degrees
GLL154238Courtesy of VOLVO CARS CORPORATION

When the crankshaft has rotated 90 degrees the right hand piston is at the top and the left hand piston is halfway between the upper and lower turning points.

Fig 4: Ignition Impulses Occur Every 90° Crankshaft Rotation
GLL154239Courtesy of VOLVO CARS CORPORATION

When the crankshaft has rotated a further 270 degrees the left hand piston is at the top and the right hand piston is halfway between the upper and lower turning points.

By offsetting the crankshaft pins by 30 degrees in this way the ignition impulses will occur every 90th crankshaft degree.

Fig 5: Identifying Ignition Impulses
GLL154240Courtesy of VOLVO CARS CORPORATION

The Example shows the principle for cylinder 1 and 2. With the firing order 1-8-4-3-6-5-7-2 the following occurs: