LEMON Manuals: Even more car manuals for everyone
Home >> Volvo >> 2013 >> XC90 Base, AWD >> Repair and Diagnosis >> Brakes >> Traction Control >> Control Modules - Signal Specification For Diagnostic Procedures >> Fault-Tracing >> Signal Specification, RTI >> Connecting The Breakout Box And Checking The Ground Terminal >> TV Receiver (To RTI Control Module)

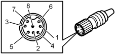
TV Receiver (To RTI Control Module)

Fig 1: Connector, Green (16- Pin)
GLL104026Courtesy of VOLVO CARS CORPORATION

Before taking any readings, see CONNECTING THE BREAKOUT BOX AND CHECKING THE GROUND TERMINAL .

TV receiver terminals M1-M16 correspond to terminals #25-#40 on the breakout box.

Control module terminal  Breakout box terminal Signal type  Ignition on  Other 
M1 #25 Video signal, TV Analog signal 1 V p-p +/- 0.2 V
M2 #26 Synchronizing signal, TV Digital signal 0-5 V
M3 #27 - - -
M4 #28 - - -
M5 #29 - - -
M6 #30 - - -
M7 #31 30 supply Ubat -
M8 #32 Signal ground, TV signals Ulow -
M9 #33 Screen ground, TV signals Ulow -
M10 #34 - - -
M11 #35 - - -
M12 #36 - - -
M13 #37 Signal, remote control TV Digital signal 33.3 kHz carrier wave when
the remote control is pressed
M14 #38 - - -
M15 #39 Ground (Measured to battery negative terminal) Ulow -
M16 #40 - - -


Fig 1: Audio Control Module (Cable Between Audio Module & CD Changer/Navigation Unit)
GLL104159Courtesy of VOLVO CARS CORPORATION

Before taking any readings, see CONNECTING THE BREAKOUT BOX AND CHECKING THE GROUND TERMINAL .

TV receiver terminals O1-O8 correspond to terminals #16-#23 on the breakout box.

Control module terminal  Breakout box terminal Signal type  Ignition on  Other 
O1 #16 Clock signal to TV receiver Digital signal Melbus protocol
O2 #17 Signal ground, sound Ulow -
O3 #18 15 supply Ubat -
O4 #19 Data signal to TV receiver Digital signal Melbus protocol
O5 #20 Busy signal to TV receiver Digital signal Melbus protocol
O6 #21 Left audio channel Alternating current when there is sound to the loudspeaker 150 mV rms +/- 38 mV
(1 kHz 30% mod)
O7 #22 Right audio channel Alternating current when there is sound to the loudspeaker 150 mV rms +/- 38 mV
(1 kHz 30% mod)
O8 #23 Voice guide channel Alternating current when there is sound to the loudspeaker (during voice guidance) -
H Screen ground, cable to audio unit Ulow -