LEMON Manuals: Even more car manuals for everyone
Home >> Volvo >> 2013 >> XC90 Base, AWD >> Repair and Diagnosis >> Brakes >> Traction Control >> Control Modules - Signal Specification For Diagnostic Procedures >> Fault-Tracing >> Signal Specification, RTI >> Connecting The Breakout Box And Checking The Ground Terminal >> RTI Control Module (To GPS Antenna, Gray Connector)

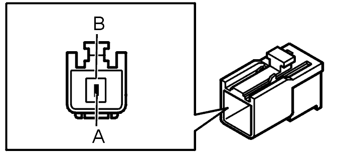
RTI Control Module (To GPS Antenna, Gray Connector)

Fig 1: Connector F, Carphone Antenna (Brown Connector), Single Hirose GT5
GLL106113Courtesy of VOLVO CARS CORPORATION

Before taking any readings, see CONNECTING THE BREAKOUT BOX AND CHECKING THE GROUND TERMINAL .

Control module terminal  Signal type  Ignition on  Other 
G1 (A) Power supply and GPS signal Analog signal Supply 5 V (DC),
signal 1.575 GHz
G2 (B) Screen ground Ulow -