LEMON Manuals: Even more car manuals for everyone
Home >> Volvo >> 2013 >> C70 >> Repair and Diagnosis >> External Pages >> Different car >> Section 2 (Gas Discharge Lamp Module (GDL) And Headlamp Control Module (HCM) - Signal Specifications) >> Signal Description, Gas Discharge Lamp Module (GDL) >> Signal Specification >> Signal Table

Signal Table

WARNING: This page does not describe the selected car, but rather 7 other vehicles, including the 2012 Volvo C70, 2011 Volvo C70, 2010 Volvo C70, 2009 Volvo C70, and 2008 Volvo C70. However, it is still accessible from the selected car via links, so may be relevant.

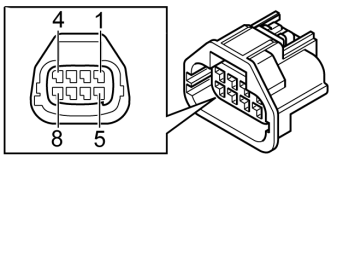
Connector A, GDL-Master 

Fig 1: Identifying Gas Discharge Lamp Module (GDL) Connector A Terminals
GLL167057Courtesy of VOLVO CARS CORPORATION
SIGNALS BETWEEN GDL-MASTER AND AXLE SENSOR

Terminal GDL-Master  Signal type  Miscellaneous 
A:1 Signal, front axle sensor 0, 5 - 4, 5V
A:2 Signal, rear axle sensor 0, 5 - 4, 5V
A:3 Voltage feed, axle sensors 5.0 ± 0.5V / 15mA
A:4 Ground, the axle sensors 0 V / 15 mA
SIGNALS BETWEEN GDL-MASTER AND CEM

Terminal GDL-Master  Signal type  Miscellaneous 
A:5 High beam. 13.5 V / 0.6 - 1.2 A
A:6 Power supply 13.5 V / <1.5 A
A:9 Dipped beam 13.5 V / 3 - 10 A
A:12 LIN IN 0V - Ubat
SIGNALS BETWEEN GDL-MASTER AND GDL-SLAVE

Terminal GDL-Master  Signal type  Miscellaneous 
A:11 LIN OUT 0V - Ubat

Connector B, GDL-Master 

Fig 2: Identifying Gas Discharge Lamp Module (GDL) Connector B Terminals
GLL167114Courtesy of VOLVO CARS CORPORATION
SIGNALS BETWEEN GDL-MASTER/SLAVE AND RESPECTIVE HEADLIGHT

Terminal GDL-Master  Signal type  Miscellaneous 
B:1 Igniter Z+  
B:2 Ground height motor  
B:3 Signal magnet  
B:4 Voltage feed magnet  
B:5 Igniter Z-  
B:6 Igniter ZH  
B:7 Signal height motor  
B:8 Voltage feed height motor