LEMON Manuals: Even more car manuals for everyone
Home >> Volvo >> 2013 >> C70 >> Repair and Diagnosis >> Engine Performance >> System >> Electronics - Design And Function - 2 Of 4 >> Engine Control Module (ECM) (B5244S4; 2006-2007) >> Function >> Fuel Pressure Regulation

Fuel Pressure Regulation

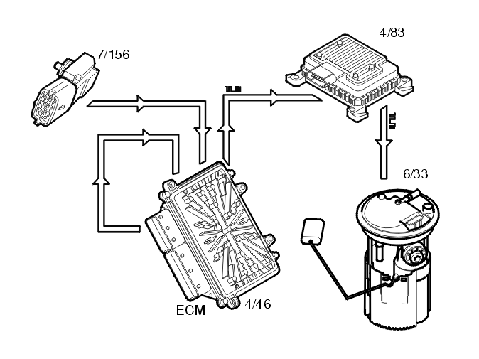
Fig 1: Identifying Fuel Pressure Regulation
GLL117513Courtesy of VOLVO CARS CORPORATION

Fuel pressure regulation for demand controlled fuel pumps (DECOS - Demand Controlled fuel Supply) means that the fuel pressure is controlled steplessly by varying the output of the fuel pump. The design of the system allows a greater maximum pressure (approximately 6.5 bar) in the fuel pump. This pressure is used in extreme situations, such as heavy engine load for example.

The following components are used for fuel pressure regulation:

The time taken for the engine start procedure can be reduced by rapidly increasing the pressure in the fuel rail when the engine control module (ECM) receives a signal about the position of the ignition switch from the central electronic module (CEM).

The engine control module (ECM) is better able to calculate the injection period because the signal from the fuel pressure sensor provides information about the fuel pressure and actual fuel temperature. This particular improves the cold starting characteristics of the engine.

The advantages of varying the output of the fuel pump so that it is not always at full power are:

Control 

The engine control module (ECM) attempts to maintain a fuel pressure of 480 kPa (absolute pressure). A pulse width modulation (PWM) signal from the engine control module (ECM) to the fuel pump (FP) control module requests an increase or decrease in pressure. The fuel pump control module then operates the fuel pump unit to obtain the desired pressure using a pulse width modulation voltage on the ground lead. The fuel pump (FP) can be controlled steplessly by changing the pulse width modulation (PWM) signal. Only that pressure which is required at that specific time will then be released to the fuel rail/injectors. The value of the pulse width modulation (PWM) signal is a measurement of the operational load of the fuel pump (FP) (% duty, 100% = maximum pressure).

The engine control module (ECM) continuously monitors the fuel pressure using the signal from the fuel pressure sensor. This allows the desired fuel pressure to be achieved. If necessary, the signal to the fuel pump control module can be changed so that it corresponds to that required to achieve the requested fuel pressure.

By-pass valve 

When the injectors are closed because of too high pressure (during engine braking for example) there is a pressure peak. The by-pass valve in the fuel pump (FP) is used to even out the pressure peak. The opening pressure of the valve is approximately 6.5 bar.

The by-pass valve also functions as a non-return valve, ensuring that the fuel pressure in the system is maintained when the engine is switched off.

There is high pressure before the engine is started. This high pressure means that the valve in the by-pass valve opens and the system is "flushed".

Passive safety 

For safety reasons, the engine control module (ECM) shuts off the fuel pump (FP) if the supplemental restraint system module (SRS) detects a collision.