LEMON Manuals: Even more car manuals for everyone
Home >> Volvo >> 2013 >> C70 >> Repair and Diagnosis >> Engine Performance >> System >> Electronics - Design And Function - 1 Of 4 >> Central Electronic Module (CEM) (2006-2013) >> Function >> Fuel Pump

Fuel Pump

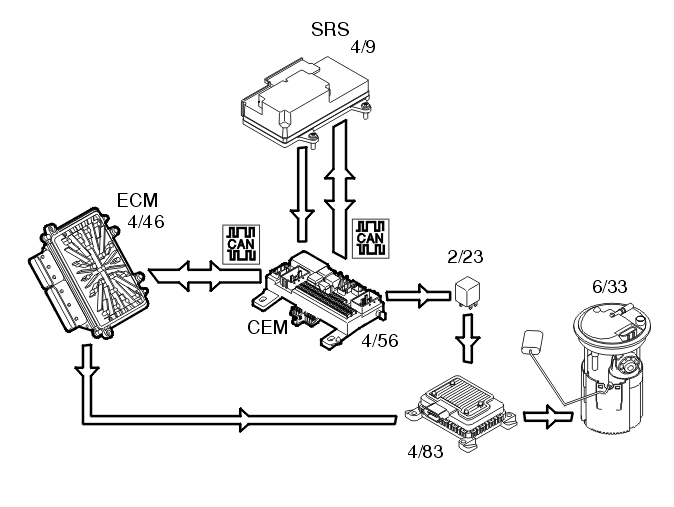
Fig 1: Identifying Fuel Pump
GLL128609Courtesy of VOLVO CARS CORPORATION

The central electronic module (CEM) (4/56) receives a request from the engine control module (ECM) (4/46) via the control area network (CAN) to start the fuel pump (FP). The central electronic module (CEM) then activates the relay (2/23) which supplies the fuel pump unit (4/83) with power, which in turn powers the fuel pump (FP) (6/33).

If the controller area network (CAN) does not function the relay for the power supply to the fuel pump control module will not be activated.

In the event of a collision in which the airbags are deployed, a signal is transmitted from the supplemental restraint system (SRS) module (4/9) via the control area network (CAN) to the central electronic module (CEM). The central electronic module (CEM) deactivates the relay for the fuel pump unit.