LEMON Manuals: Even more car manuals for everyone
Home >> Volvo >> 2013 >> C70 >> Repair and Diagnosis >> Engine Performance >> System >> Electronics - Design And Function - 1 Of 4 >> Central Electronic Module (CEM) (2006-2013) >> Function >> Brake Light

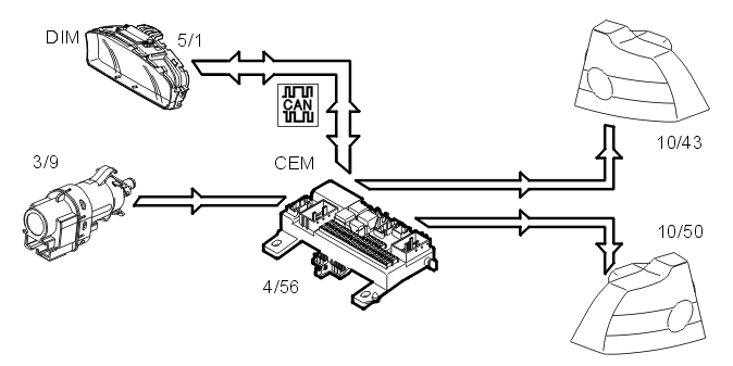
Brake Light

Fig 1: Identifying Brake Light
GLL128563Courtesy of VOLVO CARS CORPORATION

The stop lamps (10/43, 10/50) are activated when the brake switch is (3/9) closed. A directly connected signal is transmitted to the central electronic module (CEM) (4/56) indicating that the brake is activated.

The lamps are powered directly via two outputs on the central electronic module (CEM).

Information about the lamp circuit is extracted via the power supply function in the central electronic module (CEM).

In the event of a fault, the central electronic module (CEM) transmits data via the Control area network (CAN) to the driver information module (DIM) (5/1) which displays a text message.