LEMON Manuals: Even more car manuals for everyone
Home >> Volvo >> 2012 >> XC90 Base, AWD >> Repair and Diagnosis >> Electrical >> Charging Systems >> Electrical Systems - System Overview >> Phone Module (PHM) (2006-2014) >> Function >> Phone

Phone Module (PHM) (2006-2014): Function: Phone

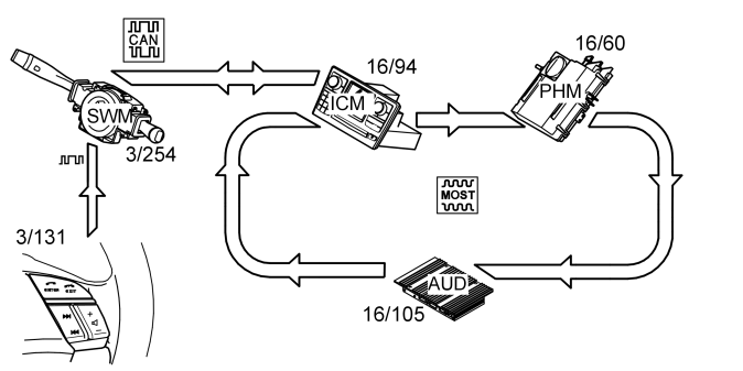
Fig 1: Identifying Phone Network
GLL151333Courtesy of VOLVO CARS CORPORATION

When using the menu via the steering wheel buttons (3/131) information is transmitted from the steering wheel module (SWM) (3/254) to the infotainment control module (ICM) via the CAN network. The information is then transmitted to the phone module (PHM) via the MOST network.

Menu management is displayed for the user in the display for the infotainment control module (ICM). Information is transmitted from the phone module (PHM) to the infotainment control module (ICM) via the MOST network.

When starting the phone module (PHM), receiving incoming calls or when using the phone, a request to use the display will be transmitted to the infotainment control module (ICM).

Phone calls can be connected via handsfree or the handset. The phone module (PHM) for the XC90 does not have a separate microphone or loudspeaker for handsfree.

For calls via handsfree the microphone and loudspeaker connected to the audio module (AUD) (16/105) are used. The phone module (PHM) transmits a request to the infotainment control module (ICM) to get access to the microphone and loudspeaker that are connected to the audio module (AUD).