LEMON Manuals: Even more car manuals for everyone
Home >> Volvo >> 2012 >> XC90 Base, AWD >> Repair and Diagnosis >> Electrical >> Charging Systems >> Electrical Systems - System Overview >> Phone Module (PHM) (2003-2005) >> Function >> CARPHONE

Phone Module (PHM) (2003-2005): Function: CARPHONE

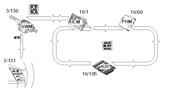
Fig 1: Identifying Carphone Network
GLL102115Courtesy of VOLVO CARS CORPORATION

The phone module (PHM) (16/60) for the XC90 does not have its own keypad to control the menus. It uses the keypad on the infotainment control module (ICM) (16/1) panel.

When controlling the menus via the steering wheel buttons (3/131), the information is transmitted from the steering wheel module (SWM) (3/130) to the infotainment control module (ICM) via the CAN network. The information is then sent on to the phone module (PHM) via the MOST network.

The menu is displayed for the user in the infotainment control module's (ICM) display. The information is transmitted from the phone module (PHM) to the infotainment control module (ICM) via the MOST network.

When the phone module (PHM) is started, a request is transmitted to the infotainment control module (ICM) to use the display when there are incoming calls or when the carphone is in use.

Telephone calls can be made either hands free or using the handset. The phone module (PHM) for the XC90 does not have its own microphone or loudspeaker for hands free.

The microphone and loudspeaker for the Audio module (AUD) (16/105) are used instead for hands free calls. The phone module (PHM) transmits a request to the infotainment control module (ICM) to access the audio module (AUD) loudspeaker and microphone.

Communication between the phone module (PHM), infotainment control module (ICM) and audio module (AUD) is via the MOST network.