LEMON Manuals: Even more car manuals for everyone
Home >> Volvo >> 2012 >> C70 >> Repair and Diagnosis >> Engine Performance >> System >> Electronics - Design And Function - 1 Of 4 >> Central Locking, Keyless Entry System (2008-2013) >> Function >> Lock Function With Deadlocking

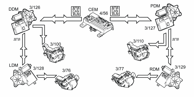
Lock Function With Deadlocking

Fig 1: Identifying Lock Function With Deadlocking
GLL162119Courtesy of VOLVO CARS CORPORATION

If lock units with deadlocking are installed, there is an additional lock motor in each lock unit. The function of this lock motor is to mechanically disengage the inner door handle. Deadlocking is activated automatically 25 seconds after the vehicle was locked. It will not then be possible to open a side door from the inside, even if a window is smashed. This also means that anyone still in the vehicle when it is locked cannot get out. The function can be disengaged using the switch for reduced alarm which is in the front interior lighting panel in the roof.