LEMON Manuals: Even more car manuals for everyone
Home >> Volvo >> 2012 >> C70 >> Repair and Diagnosis >> Engine Performance >> System >> Electronics - Design And Function - 1 Of 4 >> Central Locking, Keyless Entry System (2008-2013) >> Function >> Automatic Re-Locking After Unlocking

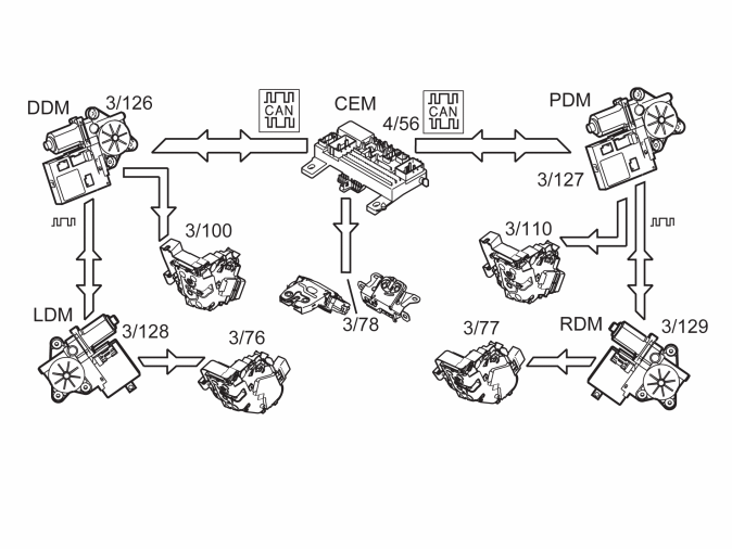
Automatic Re-Locking After Unlocking

Fig 1: Identifying Automatic Re-Locking After Unlocking
GLL162122Courtesy of VOLVO CARS CORPORATION

If the car is unlocked using the remote control or key and the side doors or trunk lid/tailgate are not opened within 2 minutes, the car will be locked automatically. Whether this function is activated on delivery or not depends on the market. This function can be activated later via VIDA (Volvo scan tool) or the infotainment control module (ICM).