LEMON Manuals: Even more car manuals for everyone
Home >> Volvo >> 2012 >> C70 >> Repair and Diagnosis >> Engine Performance >> System >> Electronics - Design And Function - 1 Of 4 >> Central Locking, Keyless Entry System (2006-2007) >> Function >> Keyless Function

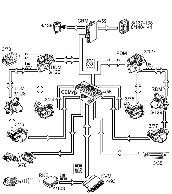
Keyless Function

Fig 1: View Of Keyless Function
GLL151975Courtesy of VOLVO CARS CORPORATION

If there is a keyless entry system, the keyless vehicle module (KVM) checks the identity of the key during locking and unlocking. After checking the key identity, the keyless vehicle module (KVM) then transmits a command to the central electronic module (CEM) to lock or unlock the central locking. The keyless vehicle module (KVM) uses the antennas in the outer handles on the side doors and in the rear bumper to check the identity of the key.

The key is checked when a handle on the side doors is pulled out or if the switch on the tailgate is activated. The keyless vehicle module (KVM) then activates one or more of the outer antennas to check the identity of the key. If the key is approved, the keyless vehicle module (KVM) transmits a signal to the central electronic module (CEM) which unlocks the vehicle.

The vehicle is locked using the lock buttons on the door handles. During locking, the antenna is also activated to check that there is an authorized key in the vicinity of the vehicle. If the key is approved, the keyless vehicle module (KVM) transmits a signal to the central electronic module (CEM) to lock the vehicle.