LEMON Manuals: Even more car manuals for everyone
Home >> Volvo >> 2012 >> C70 >> Repair and Diagnosis >> Engine Performance >> System >> Electronics - Design And Function - 1 Of 4 >> Central Electronic Module (CEM) (2006-2013) >> Function >> Back-Up Lamp

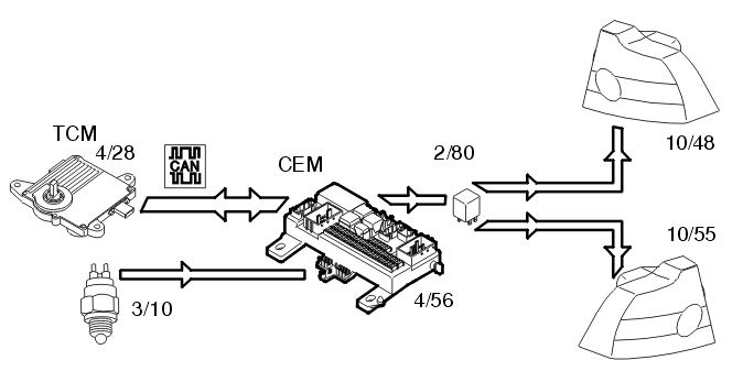
Back-Up Lamp

Fig 1: Identifying Rear Fog Lamp
GLL128562Courtesy of VOLVO CARS CORPORATION

Manual transmissions 

The back-up lamps (10/48, 10/55) are activated when back-up gear is selected. The switch (3/10) on the transmission is then closed. A directly connected signal is transmitted to the central electronic module (CEM) (4/56) indicating that back-up (reverse) gear is selected. The central electronic module (CEM) activates the relay (2/80) and the back-up (reversing) lamps are supplied with power via the relay.

Automatic transmission 

The back-up lamps (10/48, 10/55) are activated when back-up gear is selected. The transmission control module (TCM) (4/28) transmits information via the Control area network (CAN) to the central electronic module (CEM) (4/56) indicating that back-up (reverse) gear is selected. The central electronic module (CEM) activates the relay (2/80) and the back-up (reversing) lamps are supplied with power via the relay.