LEMON Manuals: Even more car manuals for everyone
Home >> Volvo >> 2011 >> XC60 R-Design, AWD >> Repair and Diagnosis >> Engine Performance >> Ignition System >> Starting System - Design And Function >> Starter Motor >> Starter Motor[2009-2017] >> Function >> Starting The Engine

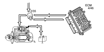
Starting The Engine

GLL1025337Courtesy of VOLVO CARS CORPORATION

When the moving steel cores for the solenoids reach their limit position the moving switches break the circuit with the fixes switches and the pull-in winding is disconnected. The hold-in winding keeps the switches closed. The current now passes through the positive carbon brushes and the armature winding. Grounding is carried out through the negative carbon brushes. This current creates a magnetic field in the rotor, which starts the rotor rotating.

NOTE:

Starter motor for V8 engine is equipped with field winding instead of permanent magnets. The field windings are electrically connected in series by carbon brushes.

When the rotor rotates, the magnetic field is generated continuously depending on how the commutator and the windings are organized on the rotor. This allows the rotor to continue rotating.

When the starter motor relay is deactivated, the pull-in winding circuit is interrupted. Then the return spring for the solenoid pulls the pinion back, at the same time as the fixed and moving switches separate and the current to the starter motor is broken.