LEMON Manuals: Even more car manuals for everyone
Home >> Volvo >> 2010 >> V70 Base, 3.2 96 >> Repair and Diagnosis >> Engine Performance >> Engine Control Systems >> Differential Electronic Module (DEM), Driver Information Module (Dim), Engine And Engine Control Module (ECM) - Design And Function >> Diagnosis (2008-2010) >> Tools For Diagnostics >> Tools For On Board Diagnostics

Tools For On Board Diagnostics

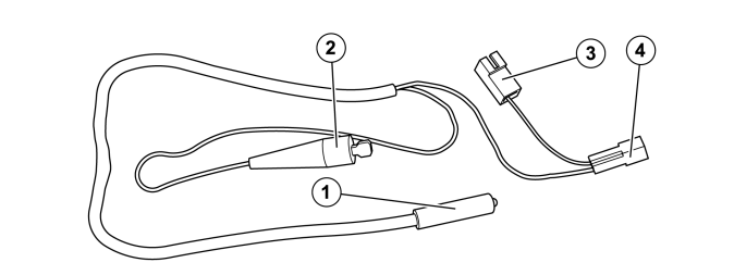
Test diode 

Fig 1: Identifying Test Diode
GLL161150Courtesy of VOLVO CARS CORPORATION

The test diode (999-5280) is used to "flash" diagnostic trouble codes. The test diode is connected to a connector (located in engine compartment on certain vehicles) and using this, the control module "flashes" diagnostic trouble codes from certain ignition systems.

The test diode can also for some vehicles be used to check the CO-content from the engine. Then the test diode is connected to another connector than when reading out diagnostic trouble codes.

  1. Light-emitting diode
  2. Connection to voltage feed.
  3. Connection control module for reading out diagnostic trouble codes
  4. Connection control module for checking CO-content.

Example of ignition systems where diagnostic trouble codes can be read out: 

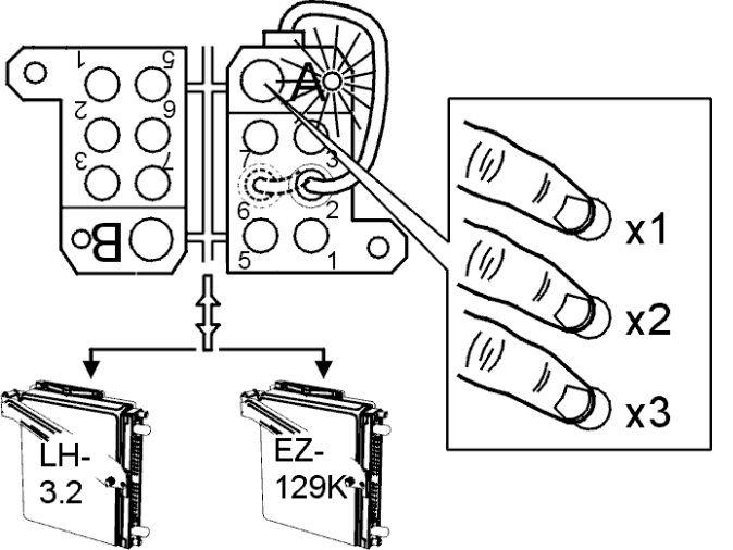
Diagnostic socket with light-emitting diode 

Fig 2: Diagnostic Socket With Light-Emitting Diode
GLL110731Courtesy of VOLVO CARS CORPORATION

A diagnostic socket with light-emitting diode was located in the engine compartment for reading out Volvo Diagnostics from the various systems. It was introduced for model year 1988. Every control module in the vehicle was connected to one of the diagnostic socket's six positions.

As the number of control modules in the vehicles increased and one diagnostics socket was not enough for all control modules, later on two diagnostics sockets were introduced, marked A and B.

For communication with a certain control module, the portable connector is connected to the control module's position in the diagnostics socket. Then the different checking functions are activated by pressing down the diagnosis button a different number of times.

When the button is pressed down, the cable to the control module is grounded, the ground pulse indicates to the control module that communication is initiated and the diode is lit. Then you release the button. Then control module then answers by grounding the cable in different patterns, making the diode turn on and off. Then these "flash codes" must be translated.

Volvo Diagnostics I, the first version is found on, e. g., fuel control system LH 2.4 and ignition system EZ 116K for model 240 and 740.

This diagnostics socket is found in car models 240, 440/460, 740, 940/960 and 850 until model year 1995. For the 400-model, this diagnostics socket is still used after model year 1995.

Volvo Diagnostic Key 

Fig 3: Identifying Volvo Diagnostic Key
GLL161151Courtesy of VOLVO CARS CORPORATION

All communication performed using the diagnostics socket with light-emitting diode requires both knowledge about which commands are to be sent as well as how flashes from the control module should be interpreted.

Volvo Diagnostic Key - plain text reading was introduced for model year 1991 to facilitate reading out, interpreting and entering flash codes when communicating.

The tool is connected to the diagnostics socket/sockets with the light-emitting diode and sends, via menu selections, the right commands, then translates the control module's answer (light-emitting diode's flashes) to plain text.

Volvo System Tester 

Fig 4: Identifying Volvo System Tester
GLL161152Courtesy of VOLVO CARS CORPORATION

Serial communication 

When non-standardized serial communication was introduced in 1991/1992, Volvo System Tester was developed to communicate serially with the control modules. This was so that the new possibilities with serial communication could be used, that is, use the built-in diagnosis in the control module (On Board Diagnostic).

In connection with the introduction of Volvo Diagnostics II, model year 1996, the Volvo System Tester was also developed for this standard.

Plain text reading 

Volvo System Tester was also developed to handle the same functionality as Volvo Diagnostic Key, that is, to work as a plain text reader.

Volvo System Tester can be connected to diagnostic socket (OBD II) as well as to diagnostic socket with light-emitting diode via an adapter.

VADIS - Volvo Aftersales Diagnostic and Information System 

Fig 5: Identifying Volvo Aftersales Diagnostic And Information System (VADIS)
GLL103183Courtesy of VOLVO CARS CORPORATION

At the end of the 1990s, VADIS was introduced as diagnostics tool. Volvo System Tester was first used as communication tool between the vehicle and PC, thereafter Volvo Communication Tool 2000 (VCT2000).

For a time both tools were used, depending on which system and model year you worked with. From 2005, VADIS is replaced by the tool VIDA (Volvo scan tool).

VIDA - Vehicle Information & Diagnostic for Aftersales 

Fig 6: Identifying Vehicle Information And Diagnostic For Aftersales (VIDA)
GLL153160Courtesy of VOLVO CARS CORPORATION

During 2005, VADIS was replaced by VIDA as the mandatory tool for diagnostics, among other things. Volvo Communication Tool 2000 (VCT2000) is used as communication tool between the vehicle and PC.

Fig 7: Identifying Volvo Communication Tool 2000
GLL161153Courtesy of VOLVO CARS CORPORATION

Beginning in 2007, VCT2000 will be replaced by DiCE (Diagnos Communication Equipment).