LEMON Manuals: Even more car manuals for everyone
Home >> Volvo >> 2009 >> V70 >> Repair and Diagnosis >> Electrical >> Charging Systems >> Charging System, Electrical Control Modules, Engine Control Module (ECM) - Design And Function >> Rear Seat Entertainment System (RSE), Generation 4.3 (2009-10) >> Function >> Rear Seat Entertainment Module (RSE)

Rear Seat Entertainment Module (RSE)

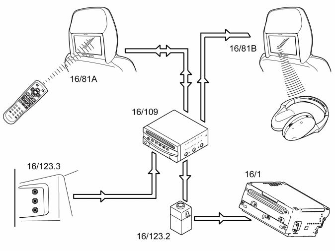
Fig 1: Identifying Rear Seat Entertainment Network
GLL165274Courtesy of VOLVO CARS CORPORATION

HINT: AUX-input (16/123.2) in XC90 has number 17/40.1. 

NOTE: There may be a slight delay between selecting a DVD function with the remote control and activation of the DVD player function. A message will appear on the screen to confirm that the DVD function was selected. Display of 'Not permitted' indicates that the DVD player is still processing a previously selected function.

The rear seat entertainment system is power fed and controlled by the Rear seat entertainment module (RSE) (16/109). The control module also includes the system's DVD player.

The system is powered via X-feed and directly from the battery. If the system is operating when the ignition is switched of, a question will appear on the screens as to whether continued play is permitted.

If the user answers YES, the system will continuing playing another 10 minutes. The system will then shut down. If there is no response to the question, the system will shut down after 1 minute. As a means of safeguarding the battery, play time cannot be extended unless the ignition is switched on again.

All buttons will light for approximately 5 seconds when attempting to start the system using the POWER button on the DVD player in this mode, they will then go out. Accordingly, the system is not permitted to start before the ignition has been switched on again.

When the ignition is switched on the Rear seat entertainment module (RSE) performs a basic internal system check and starts the start-up procedure with the screens.

For further information, see SYSTEM START-UP PROCEDURE

If the system is to be switched on using the remote control, the ignition must be switched on and the remote control must be pointed at one of the screens before any buttons are depressed, the receiver for the signals from the remote control is located on the lower edge of the screens.

When the remote control is aimed at a screen (16/81A, B) and a function key is pressed in, the Rear seat entertainment module (RSE) identifies the selected screen and executes the command that the remote control sent out.

If, for example, you press a menu selection button, a menu opens on the screen at which the remote control was aimed. The possible selections are described below:

Rear seat entertainment module (RSE) also decides which media source that has been linked to the selected screen and transmits command in a suitable protocol.

If, for example, the left screen is set for DVD-playback and an infrared play command is detected at the left screen, the message is received, saved and forwarded to the DVD-player (16/109) in the DVD-player's infrared protocol.

A fixed memory saves the displayed instruction language used and the current audio and video settings for the respective output channel. These settings are loaded upon start-up with the exception of volume level, which is set to low as standard.

When a DVD disc is inserted in the opening DVD playback starts automatically if the DVD disc does not have a disc menu.

DVD playback can resume from a paused position, for example, if the ignition was switched off when watching a movie. In this case playback continues from the last position when the ignition is switched on again. The audio and video signals are fed out from the DVD player from the connection block (ISO connection) at the rear of the device.