LEMON Manuals: Even more car manuals for everyone
Home >> Volvo >> 2009 >> V70 >> Repair and Diagnosis >> Electrical >> Charging Systems >> Alarm, Electrical Control Modules, Brakes, Brake Control Module (BCM) - Design And Function >> Central Locking, Keyless Entry System >> Function >> Valet Locking Of The Cargo Compartment And Glove Compartment (Option)

Valet Locking Of The Cargo Compartment And Glove Compartment (Option)

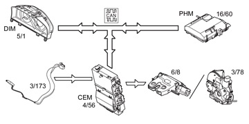
Fig 1: Identifying Valet Locking Of Cargo Compartment And Glove Compartment
GLL162972Courtesy of VOLVO CARS CORPORATION

Valet locking is used to block access to the glove compartment, cargo compartment and certain functions in the car.

The key blade must be taken out of the remote key to activate this function. The function is activated by locking the glove compartment in the normal way using the key blade (turning 0 to 90°) and then continuing to turn (from 90 to 180°). This sets the glove compartment and tailgate to valet mode and blocks the phone module (PHM) for outgoing calls if installed. A text message in the driver information module (DIM) indicates that the lock is active. The tailgate cannot now be opened using the remote control or lock switches in the doors. The key blade is kept by the customer and the remote control can be handed to valet parking attendants or workshop staff who need access to the vehicle.

This function is deactivated by inserting the key blade in the lock cylinder in the glove compartment and turning it back a quarter of a turn (from 180 to 90°). The tailgate can then be unlocked again using the remote key, central locking switch or the switch on the light switch module (LSM).