LEMON Manuals: Even more car manuals for everyone
Home >> Volvo >> 2009 >> V70 >> Repair and Diagnosis >> Electrical >> Charging Systems >> Alarm, Electrical Control Modules, Brakes, Brake Control Module (BCM) - Design And Function >> Brake System >> Design And Function >> Sealing Ring Foot Brake, Front And Rear

Sealing Ring Foot Brake, Front And Rear

Braking 

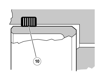
Fig 1: Identifying Sealing Ring
GLL158097Courtesy of VOLVO CARS CORPORATION

The sealing ring (10) is tensioned by means of the piston being pressed against the brake disc.

Resting position 

Fig 2: Identifying Sealing Ring
GLL158098Courtesy of VOLVO CARS CORPORATION

The tension in the sealing ring (10), which was previously generated by applying the brakes, causes the piston to be pushed back to the resting position. When the brake pads wear, the rubber seal cannot follow, instead the piston slides through the sealing ring until the brake pads come into contact with the brake disc. This produces a self-adjustment between brake disc and brake pad.