LEMON Manuals: Even more car manuals for everyone
Home >> Volvo >> 2009 >> V70 >> Repair and Diagnosis >> Body & Frame >> Door Locks >> Alarm, Electrical Control Modules, Brakes, Brake Control Module (BCM) - Design And Function >> Brake System >> Design And Function >> Hydraulic Braking System

Hydraulic Braking System

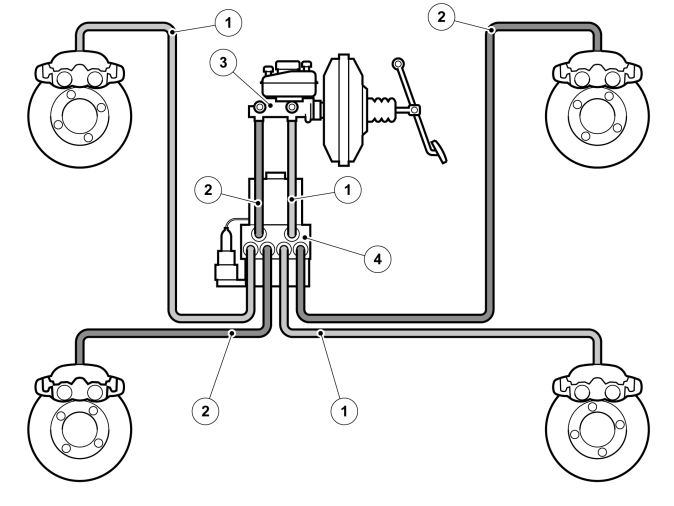
Fig 1: Identifying Primary Circuit, Secondary Circuit, Master Cylinder And Brake Control Module (BCM)
GLL156789Courtesy of VOLVO CARS CORPORATION
Number  Designation  Number  Designation 
1 Primary circuit 3 Master cylinder
2 Secondary circuit 4 Brake control module (BCM)

The hydraulic brake system is a two-circuit diagonal brake system. The hydraulic brake system is divided into a primary and secondary circuits.

The primary circuit (1) includes:

The secondary circuit (2) includes:

Two cables run from the master cylinder (3) to the brake control module (BCM) (4), where the brake pipes then branch to the wheel brakes.