LEMON Manuals: Even more car manuals for everyone
Home >> Volvo >> 2009 >> V70 >> Repair and Diagnosis >> Accessories & Equipment >> Drivers Assistance Systems - ADAS >> Charging System, Electrical Control Modules, Engine Control Module (ECM) - Design And Function >> Most Network (2008) >> Network Design >> The Optical Connector

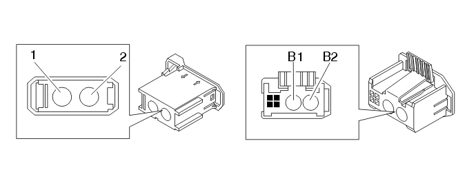
The Optical Connector

Fig 1: Identifying Optical Connector
GLL101965Courtesy of VOLVO CARS CORPORATION
Terminal Signal Type Miscellaneous
1/B1  Optical input signal Input signal for MOST communication
2/B2  Optical output signal Output signal for MOST communication

Each control module in the MOST network has an optical connector which consists of two diodes, a sender diode and a receiver diode. These transmit and receive light pulses.

The actual communication between two control modules is as follows. A sender diode transmits the message as a light pulse. This is transmitted from the control module via the MOST network to a photo-optical receiver diode in the receiving control module.

The two optical terminals in the connector are numbered in the same way on all control modules in the MOST network. There are two sizes of switch that the two optical terminals are mounted in. One with a connector with integrated power supply is integrated with the optical terminals and the other has a connector with only the optical terminals.