LEMON Manuals: Even more car manuals for everyone
Home >> Volvo >> 2009 >> V70 >> Repair and Diagnosis >> Accessories & Equipment >> Drivers Assistance Systems - ADAS >> Alarm, Electrical Control Modules, Brakes, Brake Control Module (BCM) - Design And Function >> Climate System >> Design And Function >> Air Conditioning >> Expansion Valve

Expansion Valve

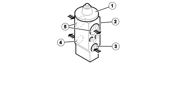
Fig 1: Identifying Expansion Valve Components
GLL145812Courtesy of VOLVO CARS CORPORATION
Number  Designation  Number  Designation 
1 Diaphragm 4 Refrigerant in liquid form to the evaporator
2 Valve housing 5 Refrigerant in gas form from the evaporator to the compressor.
3 Refrigerant in liquid form from the receiver drier - -

The expansion valve checks the refrigerant flow in the evaporator in relation to the temperature and pressure. The expansion valve gives an even temperature control because the amount of refrigerant is controlled as necessary.

The expansion valve is mounted on the intake and outlet pipes of the evaporator. In the refrigerant circuit, it is located on the high pressure side between the receiver drier and the evaporator.

The expansion valve is a pressure and temperature dependent flow regulator of the constriction type. At low cooling demand the amount of refrigerant is reduced by the valve closing. If the cooling demand increases the valve opens slightly to allow more refrigerant to the evaporator.

Systems with an expansion valve have a greater register than systems with a fixed choke because the amount of refrigerant can be better regulated to the cooling demand.

The expansion valve consists of a diaphragm (1) and a valve housing (2).

Cross section of the expansion valve 

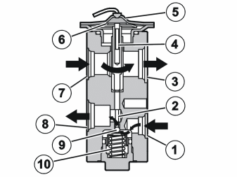
Fig 2: Identifying Cross Section Of Expansion Valve
GLL145821Courtesy of VOLVO CARS CORPORATION
  1. Valve inlet from receiver drier
  2. Valve slide
  3. Valve outlet to compressor
  4. Temperature sensor
  5. Diaphragm (filled with refrigerant)
  6. Diaphragm
  7. Valve inlet from evaporator
  8. Valve outlet to evaporator
  9. Ball valve
  10. Spring

Liquid refrigerant comes from the receiver drier and flows through the valve inlet (1). The ball valve (9) mists the refrigerant before the refrigerant flows on through the valve outlet (8) and into the evaporator.

The ball valve opening is controlled by the temperature and pressure in the refrigerant gas coming out of the evaporator.

If for example the temperature of the refrigerant gas, coming from the evaporator in the expansion valve intake (7), increases the temperature sensor (4) and increases the temperature of the refrigerant in the diaphragm head.

The refrigerant in the diaphragm head expands and compresses the ball valve in the valve seat downwards using the diaphragm (6) and a valve slide (2) so that the valve seat opens. The flow of the refrigerant to the evaporator increases. The evaporator is cooled and the temperature of the refrigerant gas is reduced.

The ball valve closes as soon as the temperature in the evaporator falls and therefore the temperature of the refrigerant in the diaphragm head also falls.