LEMON Manuals: Even more car manuals for everyone
Home >> Volvo >> 2009 >> V70 >> Repair and Diagnosis >> Accessories & Equipment >> Drivers Assistance Systems - ADAS >> Alarm, Electrical Control Modules, Brakes, Brake Control Module (BCM) - Design And Function >> Brake System >> Design And Function >> Master Cylinder

Master Cylinder

Fig 1: Identifying Master Cylinder Components
GLL140715Courtesy of VOLVO CARS CORPORATION
Number  Designation  Number  Designation 
1 Push rod (part of primary piston, connected to the power brake booster) 4 Secondary circuit piston
2 Primary circuit chamber 5 Secondary circuit chamber
3 Valve - -

The master cylinder is designed for a diagonally split brake system.

One front wheel and one rear wheel are connected together in a circuit. The two chambers in the master cylinder supply one circuit each in the brake system.

The master cylinder is of the tandem type. It contains two pistons, which are connected in series. For safety reasons, each circuit has a specific piston for pressing the brake fluid out of the master cylinder and into the brake pipes.

There is a valve (3) in the bottom of both pistons. These ensure that the remaining pressure in the chambers is released. They also ensure that new brake fluid is automatically filled into the system in the event of wear to brake pads and disc brakes.

The master cylinder's primary piston (1) is affected by the power brake booster's push rod when the brake pedal is applied. The valves are closed and pressure can build up in the brake fluid. The pressure in the primary circuit moves, in turn, the piston in the secondary circuit, whereupon its valve closes and a pressure can build up in it. The pressure increases in the system affects the pistons in the wheel brakes so that the vehicle is braked.

Springs in the master cylinder move the pistons back to their resting position when the vehicle is not braking. In this position, the valves are open and both chambers (brake circuits) are connected with the brake fluid reservoir.

The brake fluid reservoir for the master cylinder ensures that the correct amount of brake fluid is supplied in the system, irrespective of wear to brake pads and disc brakes.

Normal braking 

Fig 2: Identifying Normal Braking
GLL140709Courtesy of VOLVO CARS CORPORATION

The brake pedal is pressed and the piston nearest the power brake booster moves to the left. Pressure builds up in the primary circuit.

This pressure also moves the second piston to the left and pressure builds up in the secondary circuit.

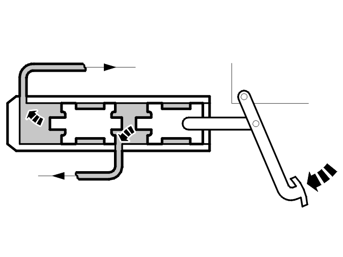
Leakage in the primary circuit 

Fig 3: Identifying Primary Circuit Leakage
GLL140713Courtesy of VOLVO CARS CORPORATION

The brake pedal is pressed and the piston nearest the power brake booster is moved, but does not build up pressure due to damage in the primary circuit. The piston moves until it comes into contact with the piston in the secondary circuit. Only then can pressure build up in the secondary circuit.

The brake pedal stroke is longer than during normal braking.

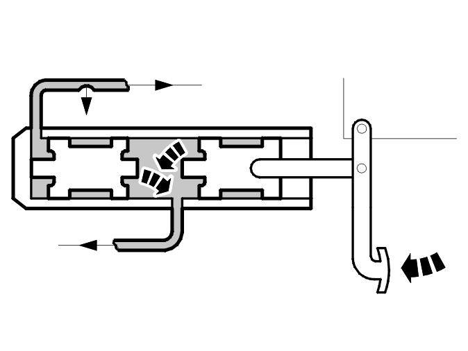
Leakage in the secondary circuit 

Fig 4: Identifying Secondary Circuit Leakage
GLL140711Courtesy of VOLVO CARS CORPORATION

The brake pedal is pressed and fluid in the primary circuit is pressed against the secondary circuit piston. The piston cannot build up pressure due to damage in the secondary circuit. It therefore moves to the left until it reaches the limit position in the master cylinder. Only then can pressure build up in the primary circuit.

The brake pedal stroke is longer than during normal braking.