LEMON Manuals: Even more car manuals for everyone
Home >> Volvo >> 2009 >> V70 >> Repair and Diagnosis >> Accessories & Equipment >> Anti-Theft Systems >> Driver's Door Module / Passenger Door Module (DDM/PDM) And Power-Operated Tailgate Module (Pot) - Specifications, Electrical/Electronic >> Power-Operated Tailgate Module (Pot) >> Signal Specification

Signal Specification

All the values given below are between the respective terminal in column 1 and terminal #C1-2 in column 2 (power ground) unless otherwise stated in parenthesis after the table entry.

NOTE:

It is important to connect the breakout box and check the ground connections before starting to measure.

U= DC voltage in volts (V) UAC = AC voltage in volts (V)
Ubat = Battery voltage (V) f = Frequency in Hertz (Hz)
Ulow = Voltage approximately 0 V t = Time in seconds
PWM = Pulse width modulated signal in % % duty = Duty cycle (pulse ratio) in percent (%)
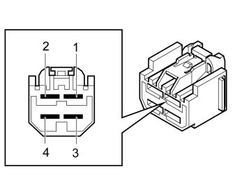
Fig 1: Identifying Connector C1
GLL162359Courtesy of VOLVO CARS CORPORATION
CONNECTOR C1

Breakout box terminal  Control module terminal  Signal type  Ignition off  Ignition on 
- #C1-1 30 supply, power supply U = Ubat U = Ubat
- #C1-2 Ground, power supply U = Ulow U = Ulow
- #C1-3 Communication MS CAN
L
U = 1.0 - 2.5 V U = 1.0 - 2.5 V
- #C1-4 Communication MS CAN
H
U = 2.5 - 4.0 V U = 2.5 - 4.0 V
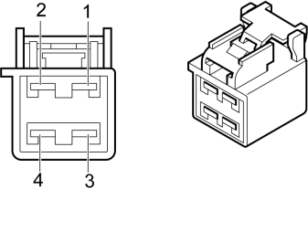
Fig 2: Identifying Connector C2
GLL162360Courtesy of VOLVO CARS CORPORATION
CONNECTOR C2

Breakout box terminal  Control module terminal  Signal type  Activated  Not activated 
1 #C2-1 Motor closing, tailgate, close U = Ubat U = 5.6 V
2 #C2-2 Switch handle U = Ulow U = Ubat
3 #C2-3 reserve - -
4 #C2-4 Switch closing tailgate U = Ulow U = Ubat
5 #C2-5 Sensor 1 (inner lock position) Tailgate closed U = Ulow Tailgate open U = Ubat
6 #C2-6 Sensor 2 (outer lock position) First and second lock position U = Ulow Tailgate open U = Ubat
7 #C2-7 Motor unlocking, open U = Ubat U = 5.6 V
8 #C2-8 Motor closing, tailgate, reset U = Ubat U = 5.6 V
9 #C2-9 Sensor, motor closing, tailgate U = 2.5 V U = 4.2 V
10 #C2-10 Clamping sensor left (not vehicles manufactured after structure week 200947) U = 4.5 V U = Ulow
11 #C2-11 Clamping sensor right (not vehicles manufactured after structure week 200947) U = 4.5 V U = Ulow
12 #C2-12 reserve - -
13 #C2-13 reserve - -
14 #C2-14 Motor unlocking, reset U = Ubat U = 5.7 V
Fig 3: Identifying Connector C3
GLL162362Courtesy of VOLVO CARS CORPORATION
CONNECTOR C3

Breakout box terminal  Control module terminal  Signal type  Activated  Not activated 
- #C3-1 Hydraulic pump, open tailgate U = Ubat U = Ulow
- #C3-2 Hydraulic pump, close tailgate U = Ubat U = Ulow
- #C3-3 Voltage feed, load sensor pulsed pulsed
- #C3-4 Signal, load sensor pulsed pulsed