LEMON Manuals: Even more car manuals for everyone
Home >> Volvo >> 2009 >> V70 >> Repair and Diagnosis (Single Page) >> Suspension >> Front Suspension >> Suspension Module (Sum) - Component And Signal Specifications >> Component Specification, Suspension Module (Sum) (2008-2010) >> Component Specification >> Height Sensor >> Terminal

Height Sensor: Terminal

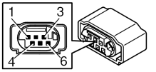
Fig 1: Connector Terminal Identification
GLL106241Courtesy of VOLVO CARS CORPORATION
Connector terminal  Control module terminal  Signal type  Other 
#1 #A23 front left
#A19 front right
#A23 rear left
#A23 rear right
Ground DC voltage
#4 #A12 front left
#A27 front right
#A28 rear left
#A14 rear right
Signal, height sensor Voltage
#5 #A25 front left
#A13 front right
#A25 rear left
#A13 rear right
Power supply +5 V DC voltage