LEMON Manuals: Even more car manuals for everyone
Home >> Volvo >> 2009 >> V70 >> Repair and Diagnosis (Single Page) >> Accessories & Equipment >> Infotainment >> Driver Information Module (Dim) - Specifications, Electrical/Electronic >> Driver Information Module (Dim) >> Signal Specification

Signal Specification

All the values given below are between the respective terminal in column 1 and terminal #C1:1 in column 2 (power ground) unless otherwise stated in parenthesis after the table entry.

NOTE:

It is important to connect the breakout box and check the ground connections before starting to measure.

U= DC voltage in volts (V) UAC = AC voltage in volts (V)
Ubat = Battery voltage (V) f = Frequency in Hertz (Hz)
Ulow = Voltage approximately 0 V t = Time in seconds
PWM = Pulse width modulated signal as a %    
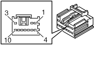
Fig 1: View Of Driver Information Module (DIM)
GLL139886Courtesy of VOLVO CARS CORPORATION
SIGNAL TABLE

Breakout box terminal  Control module terminal  Signal type  Ignition on 
Inactive/active
#1 #C1:1 Signal ground U = Ulow
#2 #C1:2 Control modules communication cable (CAN H) U = 2.5 - 3.5 V
#3 #C1:3 Extended X voltage feed U = Ubat
#10 #C1:4 Reserve -
#9 #C1:5 Reserve -
#8 #C1:6 Control modules communication cable (CAN L) U = 1.5 - 2.5 V
#7 #C1:7 Reserve -
#6 #C1:8 Reserve -
#5 #C1:9 Reserve -
#4 #C1:10 Reserve -